SYSTEM DIAGRAM

Audio Unit Input Signal (AV Communication)
| Transmit unit | Signal name |
|---|---|
| Combination meter | Steering switch signal |
Audio Unit Input Signal (CAN Communication)
| Transmit unit | Signal name |
|---|---|
| BCM | Door switches state signal |
| Combination meter |
|
| ECM | Engine RPM Signal |
| IPDM E/R | Battery voltage signal |
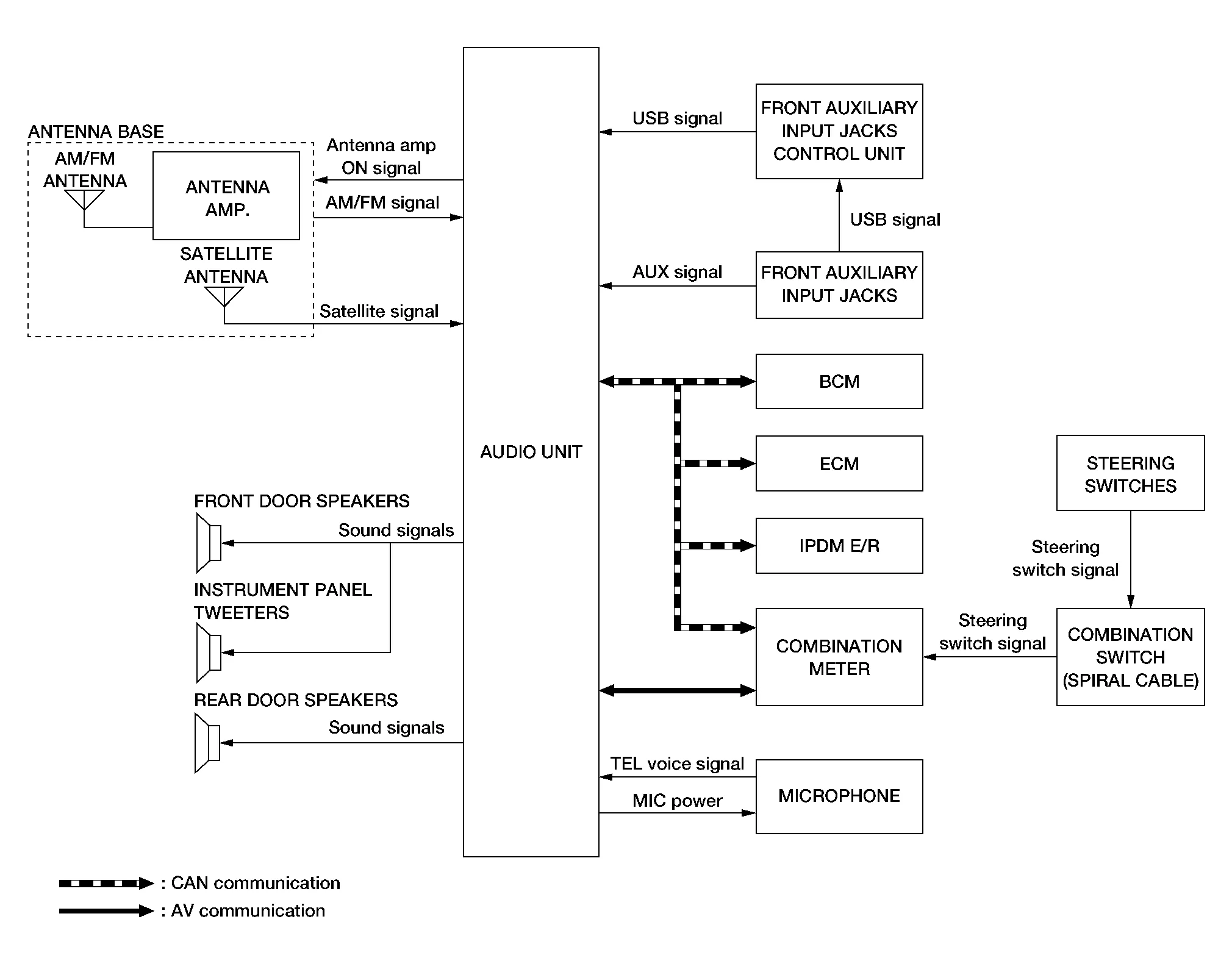
AUDIO SYSTEM
The audio system consists of the following components:
Audio unit
Instrument panel tweeters
Front door speakers
Rear door speakers
Front auxiliary input jacks
Front auxiliary input jacks control unit
Microphone
Steering switches
Combination meter
Combination switch (spiral cable)
Accessory relay-2
Antenna base (AM/FM antenna, antenna amp. and satellite antenna)
When the audio system is on:
AM/FM signals received by the AM/FM antenna are amplified by the antenna amp. and sent to the audio unit. The audio unit then sends audio signals to the speakers.
Satellite signals received by the satellite antenna are sent to the audio unit. The audio unit then sends audio signals to the speakers.
Refer to Owner's Manual for audio system operating instructions.
HANDS-FREE PHONE SYSTEM
System Operation
NOTE:
Cellular telephones must have their wireless connection set up (paired) before using the Bluetooth® telephone system.
The Bluetooth® telephone system allows users who have a Bluetooth® cellular telephone to make a wireless connection between their cellular telephone and the audio unit. Hands-free cellular telephone calls can be sent and received. Some Bluetooth® cellular telephones may not be recognized by the audio unit. When a cellular telephone or the audio unit is replaced, the telephone must be paired with the audio unit. Different cellular telephones may have different pairing procedures, refer to the cellular telephone operating manual.
Refer to the Owner's Manual for Bluetooth® telephone system operating instructions.
Audio Unit
When the ignition switch is turned ON, the audio unit will power up. During power up, the audio unit is initialized and performs various self-checks. Initialization may take up to 20 seconds.
Steering Switches
When buttons on the steering switches are pushed, the resistance in steering switch circuits change, depending on which button is pushed.
The following functions can be performed using the steering switches:
Initiate self-diagnosis of the Bluetooth® telephone system
Start a voice recognition session
Answer and end telephone calls
Adjust the volume of calls
Record memos
Microphone
The microphone is located in the roof in the map lamp assembly. The microphone sends a signal to the audio unit.
SATELLITE RADIO FUNCTION
Satellite radio function is built into audio unit.
Sound signal (satellite radio) is received by satellite antenna and transmitted to audio unit. Audio unit outputs sound signal to each speaker.
FRONT AUXILIARY INPUT JACKS FUNCTION
Sound and data signals are transmitted from USB interfaces to the front auxiliary input jacks control unit, then the audio unit and output to each speaker.
Sound signals are transmitted from AUX jack to the audio unit and output to each speaker.
SPEED SENSITIVE VOLUME SYSTEM
Volume level of this system goes up and down automatically in proportion to the vehicle speed.
The control level can be selected by the customer.
Component Parts. Display Audio System
Diagnosis System (audio Unit)Unfastening the seat belts

To unfasten the seat belt, press the button
on the buckle
. The seat belt
automatically
retracts.