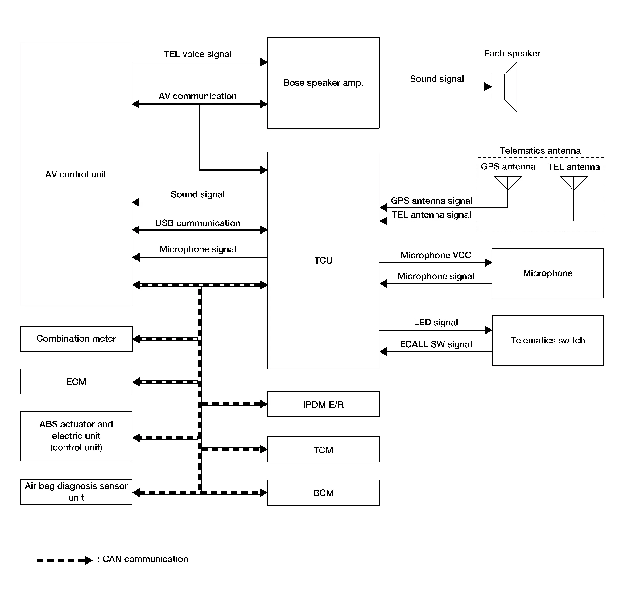
SYSTEM DIAGRAM

TCU Input Signal (CAN Communication)
| Transmit unit | Signal name |
|---|---|
| Air bag diagnosis sensor unit | Air bag crash order signal |
| ABS actuator and electrical unit (Control unit) | ABS malfunction signal |
| BCM | Door switches state signal |
| Combination meter |
|
| ECM |
|
| IPDM E/R | Anti-theft horn status signal |
| TCM | Transmission range indication signal |
DESCRIPTION
The Telematics system is a system for providing information by connecting the vehicle and the user to the NissanConnect center.
TCU (Telematics Communication Unit) equipped with a radio communication terminal communicates with the information center (NissanConnect center) via radio waves for receiving NissanConnect services.
With the equipment of the radio communication terminal, TCU communicate with NissanConnect center by Packet communication*1 and SMS*2 via TEL antenna.
NOTE:
*1: Packet communication means a communication method that data are broken down into smaller chunks for communication. The split data is called a packet and improves the efficiency of the communication circuit.
*2: SMS stands for Short Message Service, also known as text messaging or short mail, and provides text-based message communication services.
While communicating with the operator, data (e.g. transmission of own Nissan Murano vehicle location) is transmitted to the NissanConnect Service Center by using DTMF tone signals and SMS via the radio communication module included in TCU.
Audio signals transmitted and received while communicating with the operator are input by the microphone connected to TCU.
Audio signals are output from TCU via the audio data circuit connected to the AV control unit.
Component Parts. Telematics System
Diagnosis System (tcu)
The autolight system allows the headlights to turn on and off automatically. The autolight system can:
Turn on the headlights, front parking, tail, license plate and instrument panel lights automatically when it is dark. Turn off all the lights (except daylight running lights) when it is light. Keep all the lights on for a period of time after you place the ignition switch in the OFF position and all doors are closed.