Nissan Murano: Transmission & Driveline / Front Axle :: Preparation. Preparation
Special Service Tool
The actual shape of the tools may differ from those illustrated here.|
Tool number
(TechMate No.)
Tool name | Description |
|
KV40107300
(J-51751)
Boot band crimping tool |

|
Installing boot band |
|
KV38107900
(J–52469–1)
Differential side oil seal protector |

|
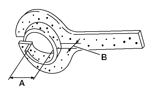
Installing drive shaft
A: 32 mm (1.26 in) dia
B: Minimum 23 mm (0.91 in) |
The actual shape of the tools may differ from those illustrated here.|
—
(J-52390)
Transfer case seal installer (1) |

|
Installing drive shaft oil seal |
|
—
(J-8092)
Driver handle |

|
Installing drive shaft oil seal
(Use with J-52390) |
Commercial Service Tool
| Tool name |
Description |
| Ball joint remover |

|
Removing wheel stud |
| Sliding hammer |

|
Removing drive shaft |
| Power tool |

|
Loosening nuts, screws and bolts |
| Slide hammer |

|
Removing drive shaft oil seal |
| Oil seal remover |

|
Removing oil seal |
Precaution for Supplemental Restraint System (SRS) "AIR BAG" and "SEAT BELT PRE-TENSIONER"
The Supplemental Restraint System such as “AIR BAG” and “SEAT BELT PRE-TENSIONER”, used along with a front seat belt, helps to reduce the risk or severity of injury to the driver and front passenger for certain types of collisions...
NVH Troubleshooting Chart
Use chart below to find the cause of the symptom. If necessary, repair or replace these parts. Reference — Inspection — Exploded View — Inspection NVH Troubleshooting Chart Inspection NVH Troubleshooting Chart NVH Troubleshooting Chart Inspection NVH Troubleshooting Chart NVH Troubleshooting Chart
Possible cause and SUSPECTED PARTS Excessive joint angle Joint sliding resistance Imbalance Improper installation, looseness Parts interference Wheel bearing damage FRONT SUSPENSION FRONT AXLE TIRE WHEEL DRIVE SHAFT BRAKE STEERING
Symptom
DRIVE SHAFT
Noise
×
×
-
-
-
×
×
×
×
×
-
×
×
Shake
×
-
×
-
-
×
×
×
×
×
-
×
×
FRONT AXLE
Noise
-
-
-
×
×
×
×
×
×
×
×
×
Shake
-
-
-
×
×
×
×
×
×
×
×
×
Vibration
-
-
-
×
×
×
×
-
×
-
×
-
×
Shimmy
-
-
-
×
×
-
×
-
×
×
-
×
×
Shudder
-
-
-
×
-
×
-
×
×
-
×
×
Poor quality ride or handling
-
-
-
×
×
-
×
-
×
×
-
-
-
Inspect Front Axle for cracks or damage...
Other information:
DTC Description
DTC DETECTION LOGIC DTC
CONSULT screen items
(Trouble diagnosis content) DTC detection condition
U0433-83
ICC SENSOR CAN CIRC 2
[Distance sensor (ICC sensor) CAN circuit 2]
Diagnosis condition
When Ignition switch is ON.
Signal (terminal)
—
Threshold
ADAS control unit received invalid data from distance sensor (ICC sensor) via ITS communication
Diagnosis delay time
1 second or less
POSSIBLE CAUSEDistance sensor (ICC sensor)ADAS control unitFAIL-SAFEThe following systems are canceled:
Intelligent Cruise Control (ICC)
Automatic Emergency Braking (AEB)
Automatic Emergency Braking (AEB) with pedestrian detection
Intelligent Forward Collision Warning (I-FCW)
DTC Confirmation Procedure
CHECK DTC PRIORITY
If DTC “U0433-83” is displayed with DTC “U1000–01”, first diagnose the DTC “U1000–01”...
Component Function Check
COMBINATION METER INPUT SIGNAL
CONSULT
Select “PKB SW” in “Data Monitor” mode of “METER/M&A”.
Check that the function operates normally according to the following conditions:
Monitor item
Condition
Status
PKB SW
When parking brake is applied
ON
When parking brake is released
OFF
Is the inspection result normal?
YES>>
Inspection End...
Categories

The autolight system allows the headlights
to turn on and off automatically. The autolight
system can:
Turn on the headlights, front parking,
tail, license plate and instrument panel
lights automatically when it is dark.
Turn off all the lights (except daylight
running lights) when it is light.
Keep all the lights on for a period of time
after you place the ignition switch in the
OFF position and all doors are closed.
read more