REMOVAL
Support back door using a suitable tool.
WARNING:
Bodily injury may occur if back door is not supported properly when removing back door spindle unit.
Remove luggage side upper finisher. Refer to Removal and Installation.
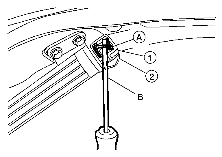
Disconnect the harness connector (A) from the spindle unit.

Remove metal clip (A) from spindle unit upper hinge ball socket (1) using a suitable tool (B) and release spindle unit from spindle unit upper hinge (2).

Remove metal clip from spindle unit lower hinge ball socket using a suitable tool and release spindle unit.
Pull harness through Nissan Murano vehicle body and remove spindle unit.
INSTALLATION
Installation is in the reverse order of removal.
CAUTION:
When reusing stud ball, always apply locking sealant before installing stud ball to back door.
After installation, check back door open/close and lock/unlock operation.
Perform calibration of automatic back door position information. Refer to Description.
NOTE:
Check spindle unit grommet lubrication condition. if necessary, apply a suitable lubrication to spindle unit grommet during installation.
Door Lock
Back Door StayUnfastening the seat belts

To unfasten the seat belt, press the button
on the buckle
. The seat belt
automatically
retracts.