Nissan Murano: Outside Key Antenna / Rear Bumper
Removal and Installation
REMOVAL
Remove rear bumper fascia. Refer to Removal and Installation.
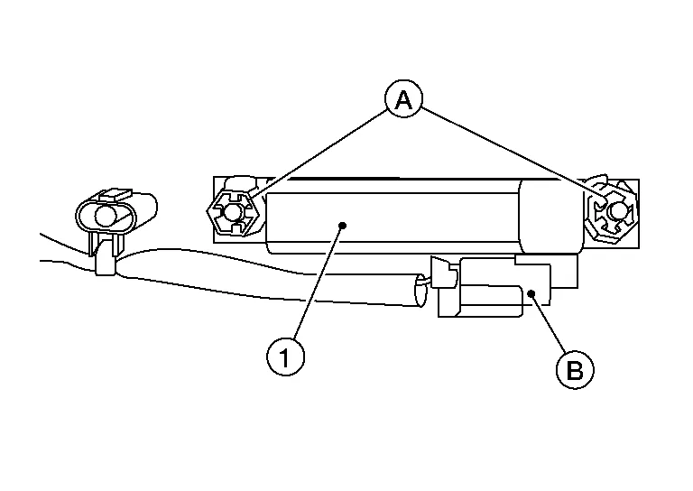
Disconnect the harness connector (B) from the outside key antenna (rear bumper).

Release clips (A) and remove outside key antenna (1).
INSTALLATION
Installation is in the reverse order of removal.
Removal and Installation
The driver side outside key antenna and driver side outside handle are serviced as an assembly. Refer to Removal and Installation...
Removal and Installation
REMOVALRemove air cleaner and air duct. Refer to Removal and Installation.
Disconnect the harness connector from the Intelligent Key warning buzzer (1)...
Other information:
Component Function Check
CHECK CLIMATE CONTROLLED SEAT SWITCH FUNCTION
Check that climate controlled seat activates when operating the climate controlled seat control switch.
Is the inspection result normal?
YES>>
Climate controlled seat switch is OK...
Special Service Tools
The actual shape of the tools may differ from those illustrated here.
Tool number
(TechMate No.)
Tool name Description
KV10111100
(J-37228)
Seal cutter
Removing chain tensioner cover and water pump cover
KV991J0070
(J-45695-A)
Coolant refill tool
Refilling engine cooling system
KV991J0010
(J-23688)
Engine coolant refractometer
Checking concentration of ethylene glycol in engine coolant
—
(J-51771)
Cooling system pressure test kit
—
(J-51771-1)
Main body
—
(J-51771-4)
Small adapter
—
(J-51771-5)
Pump with quick release
—
(J-51771-9)
Radiator cap assembly with quick coupler
Checking cooling system and radiator cap
Commercial Service Tools
(TechMate No...