Nissan Murano: Removal and Installation / Telematics Switch
Removal and Installation
REMOVAL
Remove the map lamp assembly. Refer to Removal and Installation.
Remove the connector
and screws
.

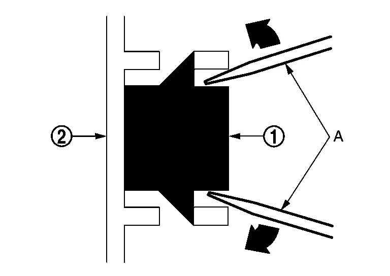
Remove the telematics switch
with the map lamp assembly finisher
as a single unit from the map lamp assembly.

Remove the telematics switch
, stretching pawls of the map lamp assembly finisher
.

INSTALLATION
Installation is the reverse order of removal.
Removal and Installation
REMOVALRemove the map lamp assembly. Refer to Removal and Installation.
Remove the microphone connector from the map lamp assembly ...
Feeder Layout
Telematics antenna
Connector
: Clips
Removal and Installation
REMOVALRemove the instrument panel assembly. Refer to Removal and Installation...
Other information:
System Description
SYSTEM DIAGRAMINPUT SIGNAL AND OUTPUT SIGNALMajor signal transmission between each unit via communication lines is shown in the following table: Component parts Signal description
IPDM E/R
Each unit transmits the sleep-ready signal (ready) to BCM when all of the CAN sleep conditions are fulfilled...
Symptom Description
The AEB warning lamp is blinking. Refer to Diagnosis Procedure.NOTE:
When any of the following conditions, the AEB warning lamp blinks:
The distance sensor area of the front of the Nissan Murano vehicle is covered with dirt or is obstructed
The interior temperature of the vehicle is extremely high
The windshield is dirty, frosted, fogged up, or damaged in front of the lane camera unit
The lane camera unit or the lane camera unit bracket is not mounted properly
Diagnosis Procedure
CHECK THE WINDSHIELD
Check if the windshield is dirty, frosted, fogged up, or damaged in front of the lane camera unit...