REMOVAL
Remove the rear spoiler. Refer to Removal and Installation.
Disconect the rear washer tube from the rear washer nozzle.
Remove the rear washer nozzle bolt and remove the rear washer nozzle.
INSTALLATION
Installation is in the reverse order of removal.
INSPECTION
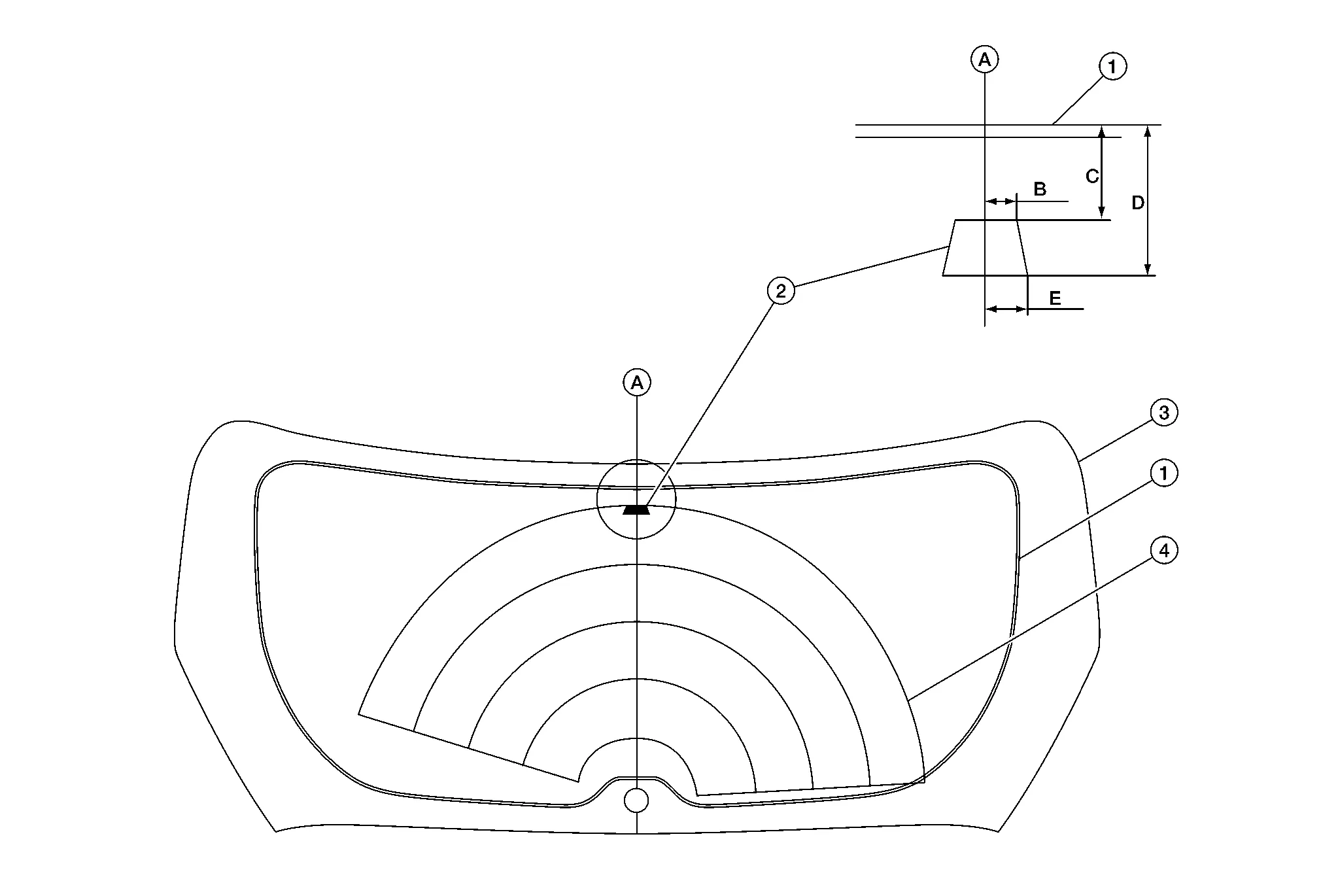
Check that air can pass through the nozzle by blowing into the nozzle, and check that air cannot flow in the opposite direction.

If operating properly, the spray positions should match the position shown. If spray position does not match, confirm the rear washer nozzle is properly seated and working properly. If the spray position still does not match as shown, then replace the rear washer nozzle. Refer to Removal and Installation.

| 1. | Black print | 2. | Spray target area | 3. | Back door glass |
| 4. | Wiper area | A. | Center line | B. | 7.0 mm (0.28 in) |
| C. | 21.7 mm (0.85 in) | D. | 34.6 mm (1.36 in) | E. | 9.9 mm (0.39 in) |
Rear Washer Tube
LATCH system lower anchor locations - bench seat
Your vehicle is equipped with special anchor points that are used with LATCH system compatible child restraints. This system may also be referred to as the ISOFIX or ISOFIX compatible system. With this system, you do not have to use a vehicle seat belt to secure the child restraint unless the combined weight of the child and child restraint exceeds 65 lbs. (29.5 kg). If the combined weight of the child and child restraint is greater than 65 lbs. (29.5 kg), use the vehicle’s seat belt (not the lower anchors) to install the child restraint. Be sure to follow the child restraint manufacturer’s instructions for installation.