The Intelligent Forward Collision Warning system is designed to warn the driver before a collision, but will not avoid a collision. It is the driver's responsibility to stay alert, drive safely and be in control of the Nissan Murano vehicle at all times.
The radar sensor does not detect the following objects:
Pedestrians, animals, or obstacles in the roadway.
Oncoming Nissan Murano vehicles.
Crossing vehicles.
The Intelligent Forward Collision Warning system does not function when a Nissan Murano vehicle ahead is a narrow vehicle, such as a motorcycle.
The radar sensor may not detect a second Nissan Murano vehicle ahead in the following conditions:
Snow or heavy rain.
Dirt, ice, snow or other material covering the radar sensor.
Interference by other radar sources.
Snow or road spray from traveling Nissan Murano vehicles is splashed.
Driving in a tunnel.
The radar sensor may not detect a second Nissan Murano vehicle when the vehicle ahead is being towed.
When the distance to the vehicle ahead is too close, the beam of the radar sensor is obstructed.
The radar sensor may not detect a second Nissan Murano vehicle when driving on a steep downhill slope or on roads with sharp curves.
Excessive noise will interfere with the warning tone sound, and it may not be heard.
SIDE RADAR HANDLING
Side radar for Blind Spot Warning system is located inside the rear bumper.
Always keep the rear bumper near the side radar clean.
Do not attach a sticker (including transparent material), install an accessory or paint work near the side radar.
Do not strike or damage the areas around the side radar.
Do not strike, damage, and scratch the side radar, especially the vent seal (gray circular) area, under repair.
BLIND SPOT WARNING
The Blind Spot Warning system is not a replacement for proper driving procedure and is not designed to prevent contact with Nissan Murano vehicles or objects. When changing lanes, always use the side and rear mirrors and turn and look in the direction driver will move to ensure it is safe to change lanes. Never rely solely on the Blind Spot Warning system.
The Blind Spot Warning system may not provide the warning for Nissan Murano vehicles that pass through the detection zone quickly.
Excessive noise (for example, audio system volume, open Nissan Murano vehicle window) will interfere with the chime sound, and it may not be heard.
The side radar may not be able to detect and activate Blind Spot Warning when certain objects are present such as:
Pedestrians, bicycles, animals.
Several types of Nissan Murano vehicles such as motorcycles.
Oncoming vehicles.
Vehicles remaining in the detection zone when driver accelerate from a stop.
A Nissan Murano vehicle merging into an adjacent lane at a speed approximately the same as vehicle.
A vehicle approaching rapidly from behind.
A Nissan Murano vehicle which vehicle overtakes rapidly.
Severe weather or road spray conditions may reduce the ability of the radar to detect other Nissan Murano vehicles.
The side radar detection zone is designed based on a standard lane width. When driving in a wider lane, the side radar may not detect Nissan Murano vehicles in an adjacent lane. When driving in a narrow lane, the side radar may detect vehicles driving two lanes away.
The side radar is designed to ignore most stationary objects, however, objects such as guardrails, walls, foliage and parked Nissan Murano vehicles may occasionally be detected. This is a normal operating condition.
SIDE RADAR HANDLING
Side radar for Rear Cross Traffic Alert system is located inside the rear bumper.
Always keep the rear bumper near the side radar clean.
Do not attach a sticker (including transparent material), install an accessory or paint work near the side radar.
Do not strike or damage the areas around the side radar.
Do not strike, damage, and scratch the side radar, especially the vent seal (gray circular) area, under repair.
REAR CROSS TRAFFIC ALERT
Always check surroundings and turn to check what is behind you before backing up. The radar sensors detect approaching (moving) Nissan Murano vehicles. The radar sensors cannot detect every object such as:
Pedestrians, bicycles, motorcycles, animals or child operated toy Nissan Murano vehicles.
A vehicle that passing at speeds greater than approximately 30 KM/H (19 MPH)
A Nissan Murano vehicle that passing at speeds lower than approximately 8 KM/H (5 MPH)
The radar sensors may not detect approaching Nissan Murano vehicles in certain situations:
When the vehicle that is parked next to you obstructs the beam of the radar sensor.
When the Nissan Murano vehicle is parked in an angled parking space.
When the vehicle is parked on an incline.
When an approaching Nissan Murano vehicle turns into your vehicles parking lot isle.
When the angle formed by your vehicle is too small.
The following conditions may reduce the ability of the radar to detect other Nissan Murano vehicles:
Severe weather
Road spray
Ice build up on the Nissan Murano vehicle
Frost on the vehicle
Dirt build up on the vehicle
Do not attach stickers (including transparent material), install accessories or apply additional paint near the radar sensors. These conditions may reduce the ability of the radar to detect other Nissan Murano vehicles.
Do not use RCTA systems when towing a trailer.
Excessive noise (e.g. audio system volume, open Nissan Murano vehicle window) will interfere with the chime sound and it may not be heard.
The I-DA system is only a warning to inform the driver of a potential lack of driver attention or drowsiness. It will not steer the Nissan Murano vehicle or prevent loss of control.
The Intelligent Drive Alertness system does not detect and provide an alert of the drivers’s lack of attention or fatigue in every situation.
The I-DA system may not operate properly and may not provide an alert in the following conditions:
Poor road conditions such as an uneven road surface or pot holes.
Strong side wind.
When driver have adopted a sporty driving style with higher cornering speeds or higher sates of acceleration.
Frequent lane changes or changes to Nissan Murano vehicle speed.
The I-DA system may not provide and alert in the following conditions:
Nissan Murano Vehicle speed lower than 60 km/h (37 MPH).
Short lapses of attention.
Instantaneous distractions such as dropping an object.
SONAR HANDLING
Always keep the sonar sensors clean.
Do not attach a sticker (including transparent material), install an accessory or paint work over any of the sonar sensors.
Do not strike or scratch any of the sonar sensors causing physical damage. to a sensor or the surrounding area
SIDE RADAR HANDLING
Always keep the rear bumper near the side radar clean.
Do not attach a sticker (including transparent material), install an accessory or paint work near the side radar.
Do not strike or damage the areas around the side radar.
REAR AUTOMATIC BRAKING
Always check your surroundings and turn to check what is behind you before and while backing up. The RAB system detects stationary objects behind the Nissan Murano vehicle.The RAB system does not detect the following objects:
Moving objects
Low objects
Narrow objects
Wedge-shaped objects
Objects close to the bumper (less than approximately 1 ft [30 cm])
Objects that suddenly appear
Thin objects such as rope, wire, chain, etc.
The RAB system may not operate for the following obstacles:
Obstacles located high off the ground
Obstacles in a position offset from your Nissan Murano vehicle
Obstacles, such as spongy materials or snow, that have soft outer surfaces and can easily absorb a sound wave
The RAB system may not operate in the following conditions:
There is rain, snow, ice, dirt, etc., attached to the sonar sensors
A loud sound is heard in the area around the Nissan Murano vehicle
The surface of the obstacle is diagonal to the rear of the vehicle
The RAB system may unintentionally operate in the following conditions:
There is overgrown grass in the area around the Nissan Murano vehicle
There is a structure (e.g., a wall, toll gate equipment, a narrow tunnel, a parking lot gate) near the side of the Nissan Murano vehicle
There are bumps, protrusions, or manhole covers on the road surface
The Nissan Murano vehicle drives through a draped flag or a curtain
There is an accumulation of snow or ice behind the Nissan Murano vehicle
An ultrasonic wave source, such as another vehicle’s sonar, is near the vehicle
When the vehicle approaches an obstacle while the accelerator pedal is depressed, the function may not operate or the start of operation may be delayed. The RAB system may not operate or may not perform sufficiently due to Nissan Murano vehicle conditions, driving conditions, the traffic environment, the weather, road surface conditions, etc. Do not wait for the system to operate. Operate the brake pedal by yourself as soon as necessary. Once the automatic brake control operates, it does not operate again if the Nissan Murano vehicle approaches the same obstacle.The automatic brake control can only operate for a short period of time. Therefore, the driver must depress the brake pedal. In the following situations, the RAB system may not operate properly or may not function sufficiently:
The Nissan Murano vehicle is driven in bad weather (rain, fog, snow, etc.)
The vehicle is driven on a steep hill
The Nissan Murano vehicle’s posture is changed (e.g., when driving over a bump)
The vehicle is driven on a slippery road
The Nissan Murano vehicle is turned sharply by turning the steering wheel fully
Snow chains are used
Wheels or tires other than NISSAN recommended are used
The brakes are cold at low ambient temperatures or immediately after driving has started
The braking force becomes poor due to wet brakes after driving through a puddle or washing the Nissan Murano vehicle
Turn the RAB system off in the following conditions to prevent the occurrence of an unexpected accident resulting from sudden system operation:
The Nissan Murano vehicle is towed
The vehicle is carried on a flatbed truck
The vehicle is on the chassis dynamometer
The Nissan Murano vehicle drives on an uneven road surface
Suspension parts other than those designated as genuine parts are used. (If the vehicle height or the Nissan Murano vehicle body inclination is changed, the system may not detect an obstacle correctly).
Excessive noise (e.g., audio system volume, an open Nissan Murano vehicle window) will interfere with the chime sound, and it may not be heard
LANE CAMERA UNIT HANDLING
To keep the proper operation of the I-LI system and prevent a system malfunction, be sure to observe the following:
Always keep the windshield clean.
Do not attach a sticker (including transparent material) or install an accessory near the lane camera unit.
Do not place reflective materials, such as white paper or a mirror, on the instrument panel. The reflection of sunlight may adversely affect the lane camera unit capability of detecting the lane markers.
Do not strike or damage the areas around the camera unit. Do not touch the camera lens or remove the screw located on the camera unit. If the camera unit is damaged due to an accident.
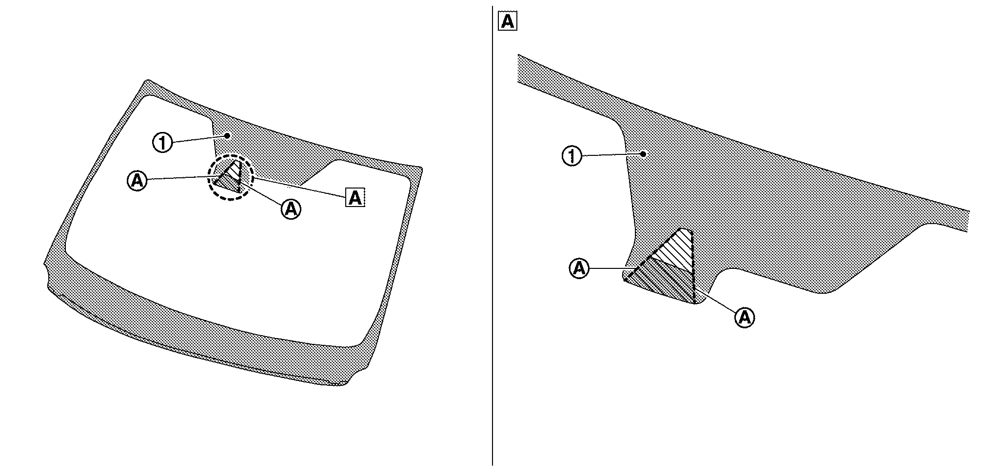
NOTE:
For operating the system normally, replace the windshield glass in the following case.
When there is a scratch on the area printed in black of windshield upper portion.
When there is a scratch on the detecting range of lane camera unit. (the area within the lines extended from the notch of the area printed in black)

![]() |
Area printed in black | ||||
![]() |
Line extended from the notch of the area printed in black | ||||
![]() |
Detail | ||||
![]() |
The detecting range of lane camera unit |
Intelligent Lane Intervention (I-LI)
If the I-LI system malfunctions, it will cancel automatically, and the I-LI malfunction message will appear in the Nissan Murano vehicle information display.
The I-LI system will not always steer the vehicle to keep it in the lane. It is not designed to prevent loss of control. It is the driver’s responsibility to stay alert, drive safely, keep the Nissan Murano vehicle in the traveling lane, and be in control of vehicle at all times.
I-LI system is primarily intended for use on well-developed freeways or highways. It may not detect the lane markers in certain roads, weather or driving conditions.
Using the I-LI system under some conditions of road, lane marker or weather, or when driver change lanes without using the turn signal could lead to an unexpected system operation. In such conditions, driver needs to correct the Nissan Murano vehicle's direction with driver's steering operation to avoid accidents.
The I-LI system will not operate at speeds below approximately 60 km/h (37 MPH) or if it cannot detect lane markers.
Do not use the I-LI system under the following conditions as it may not function properly:
During bad weather (rain, fog, snow, etc.).
When driving on slippery roads, such as on ice or snow, etc.
When driving on winding or uneven roads.
When there is a lane closure due to road repairs.
When driving in a makeshift or temporary lane.
When driving on roads where the lane width is too narrow.
When driving with a tire that is not within normal tire conditions (for example, tire wear, low tire pressure, installation of spare tire, tire chains, non-standard wheels).
When the Nissan Murano vehicle is equipped with non-original brake or steering parts or suspension parts.
Excessive noise will interfere with the warning chime sound, and the chime may not be heard.
The functions of the I-LI system (warning and, system application of the steering or brakes) may or may not operate properly under the following conditions:
On roads where there are multiple parallel lane markers; lane markers that are faded or not painted clearly; yellow painted lane markers; non-standard lane markers or lane markers covered with water, dirt or snow, etc.
On roads where discontinued lane markers are still detectable.
On roads where there are sharp curves.
On roads where there are sharply contrasting objects, such as shadows, snow, water, wheel ruts, seams or lines remaining after road repairs (The I-LI system could detect these items as lane markers.).
On roads where the traveling lane merges or separates.
When the Nissan Murano vehicle's traveling direction does not align with the lane marker.
When traveling close to the Nissan Murano vehicle in front of driver, which obstructs the lane camera unit detection range.
When rain, snow or dirt adheres to the windshield in front of the lane camera unit.
When the headlights are not bright due to dirt on the lens or if the aiming is not adjusted properly.
When strong light enters the lane camera unit (For example, the light directly shines on the front of the Nissan Murano vehicle at sunrise or sunset.)
When a sudden change in brightness occurs (For example, when the Nissan Murano vehicle enters or exits a tunnel or under a bridge.)
LANE CAMERA UNIT HANDLING
To keep the proper operation of the TSR system and prevent a system malfunction, be sure to observe the following:
Always keep the windshield clean.
Do not attach a sticker (including transparent material) or install an accessory near the lane camera unit.
Do not place reflective materials, such as white paper or a mirror, on the instrument panel. The reflection of sunlight may adversely affect the lane camera unit capability of detecting the lane markers.
Do not strike or damage the areas around the camera unit. Do not touch the camera lens or remove the screw located on the camera unit. If the camera unit is damaged due to an accident.
TRAFFIC SIGN RECOGNITION
CAUTION:
There are limitations to the Traffic Sign Recognition. Be careful to observe traffic signs, etc. and drive safely.
Detection may not be possible depending on the Nissan Murano vehicle status, driving conditions, traffic environment, weather conditions, and the condition of the sign.
Under conditions such as the following, detection of Traffic Sign Recognition is delayed and detection may not be possible.
A portion of the sign is hidden and obscured by a tree, dirt, etc.
The shape of the sign is changed due to the sign being bent, etc.
The Nissan Murano vehicle is traveling at a fast speed.
Depending on certain conditions, it may not be possible to hear the warning sound due to outside noises.
LANE CAMERA UNIT HANDLING
To keep the proper operation of the LDW system and prevent a system malfunction, be sure to observe the following:
Always keep the windshield clean.
Do not attach a sticker (including transparent material) or install an accessory near the lane camera unit.
Do not place reflective materials, such as white paper or a mirror, on the instrument panel. The reflection of sunlight may adversely affect the lane camera unit capability of detecting the lane markers.
Do not strike or damage the areas around the camera unit. Do not touch the camera lens or remove the screw located on the camera unit. If the camera unit is damaged due to an accident.
NOTE:
For operating the system normally, replace the windshield glass in the following case.
When there is a scratch on the area printed in black of windshield upper portion.
When there is a scratch on the detecting range of lane camera unit. (the area within the lines extended from the notch of the area printed in black)

![]() |
Area printed in black | ||||
![]() |
Line extended from the notch of the area printed in black | ||||
![]() |
Detail | ||||
![]() |
The detecting range of lane camera unit |
LANE DEPARTURE WARNING (LDW)
If the LDW system malfunctions, it will cancel automatically, and the LDW malfunction message will appear in the Nissan Murano vehicle information display.
LDW system is only a warning device to inform the driver of a potential unintended lane departure. It will not steer the Nissan Murano vehicle or prevent loss of control. It is the driver’s responsibility to stay alert, drive safely, keep the Nissan Murano vehicle in the traveling lane, and be in control of the vehicle at all times.
LDW system will not operate at speeds below approximately 60 km/h (37 MPH) or if it cannot detect lane markers.
Excessive noise will interfere with the warning chime sound, and the chime may not be heard.
LDW system may not function properly under the following conditions:
On roads where there are multiple parallel lane markers; lane markers that are faded or not painted clearly; yellow painted lane markers; non-standard lane markers; or lane markers covered with water, dirt or snow, etc.
On roads where the discontinued lane markers are still detectable.
On roads where there are sharp curves.
On roads where there are sharply contrasting objects, such as shadows, snow, water, wheel ruts, seams or lines remaining after road repairs. (The LDW system could detect these items as lane markers.)
On roads where the traveling lane merges or separates.
When the Nissan Murano vehicle's traveling direction does not align with the lane marker.
When traveling close to the Nissan Murano vehicle in front of driver, which obstructs the lane camera unit detection range.
When rain, snow or dirt adheres to the windshield in front of the lane camera unit.
When the headlights are not bright due to dirt on the lens or if the aiming is not adjusted properly.
When strong light enters the lane camera unit. (For example, the light directly shines on the front of the Nissan Murano vehicle at sunrise or sunset.)
When a sudden change in brightness occurs. (For example, when the Nissan Murano vehicle enters or exits a tunnel or under a bridge.)
I-Da
Diagnosis System (side Radar Lh)
When securing items using luggage hooks located on the back of the seat or side finisher do not apply a load over more than 6.5 lbs. (29 N) to a single hook.
The luggage hooks that are located on the floor should have loads less than 110 lbs. (490 N) to a single hook.