Nissan Murano: Exterior :: Removal and Installation / Front Spoiler
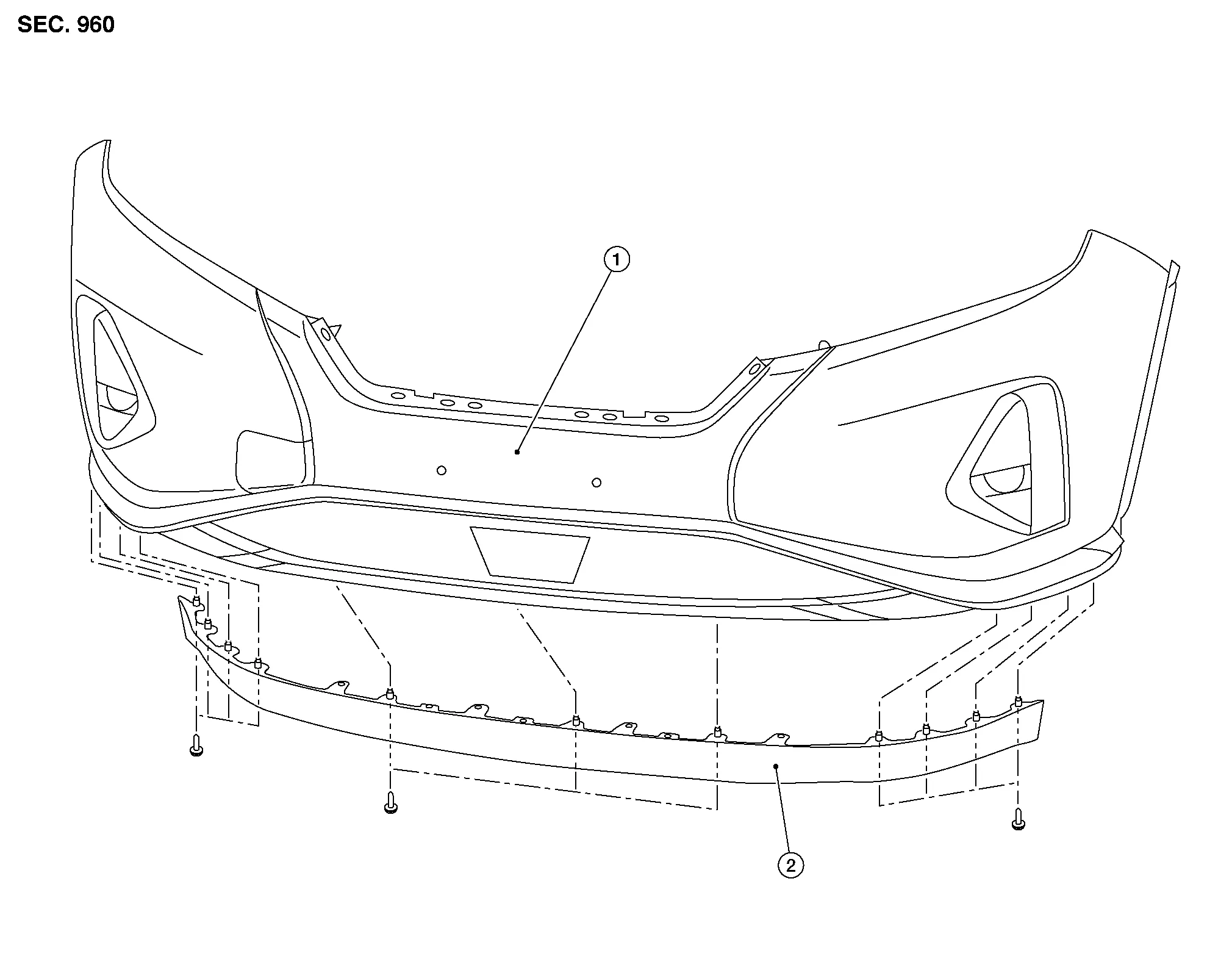
Exploded View

| 1. |
Front bumper fascia |
2. |
Front spoiler |
|
|
Removal and Installation
REMOVAL
Remove clips from front spoiler.
Remove front spoiler.
INSTALLATION
Installation is in the reverse order of removal.
Exploded View
1.
Active grille shutter
2.
Radiator core support
Front
Removal and Installation
REMOVALRemove front bumper fascia. Refer to Removal and Installation...
Exploded View
1.
Cowl top cover seal
2.
Cowl top side trim cover (RH)
3.
Cowl top cover
4.
Cowl top extension
5.
Cowl top side trim cover (LH)
A...
Other information:
..
DTC Description
DTC DETECTION LOGIC DTC
CONSULT screen items
(Trouble diagnosis content) DTC detection condition
C1B85-4B
POWER SUPPLY CIR
(Power supply circuit)
Diagnosis condition
When engine is running
When Automatic Emergency Braking or LDW system is ON
Signal (terminal)
—
Threshold
Distance sensor judges high temperature abnormality
Diagnosis delay time
1 second or less
POSSIBLE CAUSE
Temperature around the distance sensor (ICC Sensor) becomes high
ADAS control unit
FAIL-SAFEThe following systems are canceled:
Vehicle-to-vehicle distance control mode
Conventional (fixed speed) cruise control mode
Automatic Emergency Braking (AEB) with pedestrian detection
Automatic Emergency Braking (AEB)
Intelligent Forward Collision Warning (I-FCW)
Lane Departure Warning (LDW)
Intelligent Lane Intervention (I-LI)
Confirmation Procedure
DTC CONFIRMATION PROCEDUREPERFORM DTC CONFIRMATION PROCEDURE
CONSULT
Turn the ignition switch OFF...