Nissan Murano: Removal and Installation / Instrument Panel Tweeter
Removal and Installation
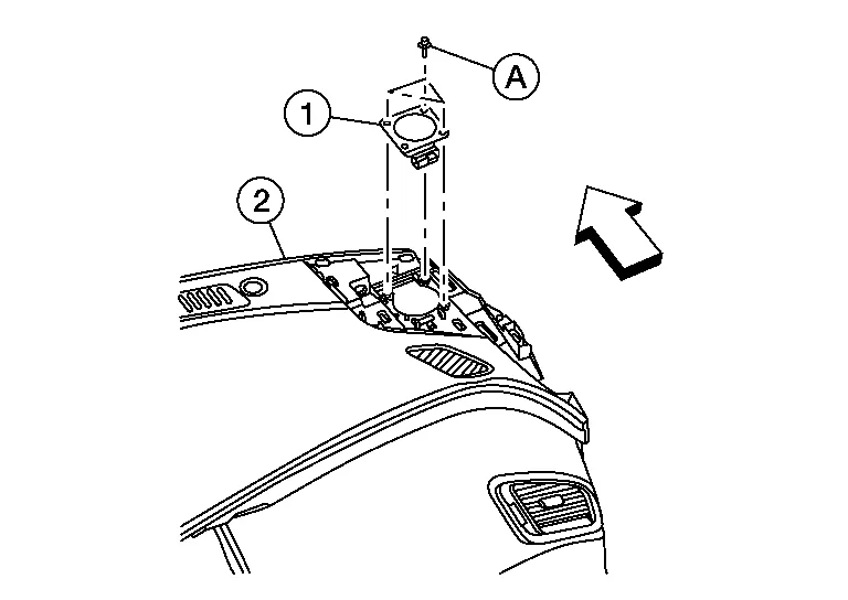
REMOVAL
Remove instrument panel tweeter grille (LH\RH). Refer to Exploded View.
Disconnect the harness connector from instrument panel tweeter and remove screws (A) to remove instrument panel tweeter (1).
(2): Instrument panel assembly

: Front
INSTALLATION
Installation is in the reverse order of removal.
Removal and Installation
REMOVALRemove shift selector finisher. Refer to Exploded View.
Release pawls and remove front auxiliary input jacks (1).
: PawlINSTALLATIONInstallation is in the reverse order of removal...
Removal and Installation
REMOVALRemove front door finisher. Refer to Removal and Installation.
Disconnect the harness connector (A) from front door speaker and remove screws to remove front door speaker (1)...
Other information:
DTC Description
DTC DETECTION LOGIC DTC No. CONSULT screen terms (Trouble diagnosis content) DTC Detection Condition
B261A
PUSH-BTN IGN SW
(Push-button ignition switch)
Diagnosis condition
When push-button ignition switch is ON.
Signal (terminal)
Engine start switch signal (Terminal 1)
Threshold
Less than 8...
DTC Description
DTC DETECTION LOGIC DTC
CONSULT screen terms
(Trouble diagnosis content)
DTC detection condition
P2297
A/F SENSOR1 (B1)
(O2 Sensor Out of Range During Deceleration Bank 1 Sensor 1)
Diagnosis condition
Engine run and fuel shut off
Signal
—
Threshold
Air fuel ratio(A/F) sensor 1 bank 1 is out of normal range
Diagnosis delay time
—
POSSIBLE CAUSEAir fuel ratio(A/F) sensor 1 bank1FAIL-SAFENot applicableDTC CONFIRMATION PROCEDUREPRECONDITIONING
If DTC Confirmation Procedure has been previously conducted, always perform the following procedure before conducting the next test...