CVT FLUID COOLER SCHEMATIC

COMPONENT DESCRIPTION
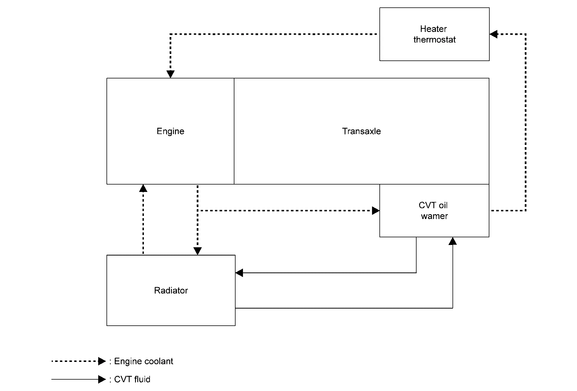
CVT Oil Warmer
The CVT oil warmer (1) is installed on the front part of transaxle assembly.

When engine is started while engine and CVT are cold, engine coolant temperature rises more quickly than CVT fluid temperature. CVT oil warmer is provided with two circuits for CVT and engine coolant respectively so that warmed engine coolant warms CVT quickly. This helps shorten CVT warming up time, improving fuel economy.
A cooling effect is obtained when CVT fluid temperature is high.
Heater Thermostat
The heater thermostat (1) is installed on the front part of transaxle assembly.

The heater thermostat open and close with set temperature.
Transaxle
Shift Lock System
The autolight system allows the headlights to turn on and off automatically. The autolight system can:
Turn on the headlights, front parking, tail, license plate and instrument panel lights automatically when it is dark. Turn off all the lights (except daylight running lights) when it is light. Keep all the lights on for a period of time after you place the ignition switch in the OFF position and all doors are closed.