SYSTEM DIAGRAM

SIGNAL TRANSMISSION FUNCTION LIST
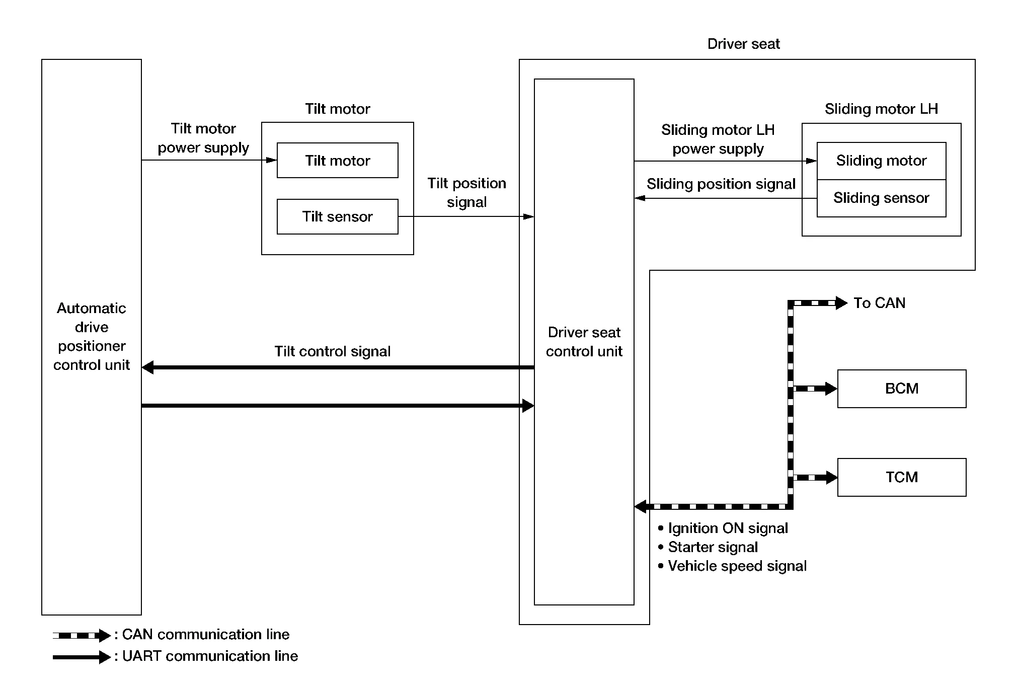
Several types of signals are transmitted from the following units to the driver seat control unit via CAN communication.
| Component | Signal |
|---|---|
| BCM |
|
| TCM | Shift position signal |
DESCRIPTION
The seat is in the exiting position when either following condition is satisfied; the seat returns from exiting position to the previous driving position.
NOTE:
This function is set to OFF before delivery (initial setting).
For further information on the system setting procedure, refer to Owner’s Manual.
Operation Procedure
Ignition switch ACC.
Front seat LH and steering column will return from the exiting position to entry position.
Operation Condition
Satisfy all of the following items. The entry assist function is not performed if these items are not satisfied.
| Item | Request status |
|---|---|
| Seat, steering column | The Nissan Murano vehicle is not moved after performing the exit assist function. |
|
Switch inputs
|
OFF (Not operated) |
| CVT selector lever | P position |
Detail Flow
| Order | Input | Output | Control unit condition |
|---|---|---|---|
| 1 | Door switch/Ignition switch | — | Driver seat control unit receives the signals of ignition switch signal and front door switch from BCM via CAN communication. |
| 2 | — | Motors (sliding LH, tilt) | Driver seat control unit operates the sliding motor LH when the operating conditions are satisfied and requests the operation of tilt motor to automatic drive positioner control unit via UART communication. The automatic drive positioner control unit operates the tilt motor. |
| Sensors (sliding, tilt) | — | Each sensor monitors the operating positions of seat and steering column then stops the operation of motor when each part reaches the recorded address. |
Exit Assist Function
Linking Key Fob to the Meter Display
The autolight system allows the headlights to turn on and off automatically. The autolight system can:
Turn on the headlights, front parking, tail, license plate and instrument panel lights automatically when it is dark. Turn off all the lights (except daylight running lights) when it is light. Keep all the lights on for a period of time after you place the ignition switch in the OFF position and all doors are closed.