DTC DETECTION LOGIC
| DTC No. |
CONSULT screen items (Trouble diagnosis content) | DTC Detection Condition | |
|---|---|---|---|
| B2614 |
BCM (Body control module) |
Diagnosis condition | Always |
| Signal (terminal) | Accessory relay-1 control | ||
| Threshold |
The following states are compared, and they do not match for 1 second or more:
|
||
| Diagnosis delay time | 1 second or more. | ||
POSSIBLE CAUSE
Harness or connectors (Accessory relay-1 control signal circuit is open or shorted)
BCM
Accessory relay-1
FAIL-SAFE
—
PERFORM DTC CONFIRMATION PROCEDURE
CONSULT
Ignition switch ACC, and wait for 1 second or more.
Select “Self Diagnostic Result” mode of “BCM”.
Check DTC.
Is DTC detected?
YES>>Refer to DTC Diagnosis Procedure.
NO>>To check malfunction symptom before repair: Refer to Intermittent Incident.
NO>>Confirmation after repair: Inspection End.
CHECK ACCESSORY RELAY-1 CONTROL SIGNAL
Check voltage between BCM harness connector and ground.
| (+) | (–) | Condition |
Voltage (Approx.) | ||
|---|---|---|---|---|---|
| BCM | |||||
| Connector | Terminal | ||||
| M80 | 113 | Ground | Ignition switch | OFF | 0 – 0.5 V |
| ACC or ON | Battery voltage | ||||
Is the inspection result normal?
YES>>Replace BCM. Refer to Removal and Installation.
NO>>GO TO 2.
CHECK ACCESSORY RELAY-1 CONTROL SIGNAL CIRCUIT
Ignition switch OFF.
Disconnect BCM connector and accessory relay-1 connector.
Check continuity between BCM harness connector and accessory relay-1 harness connector.
| BCM | Accessory relay-1 | Continuity | ||
|---|---|---|---|---|
| Connector | Terminal | Connector | Terminal | |
| M80 | 113 | J-3 | 2 | Yes |
Check continuity between BCM harness connector and ground.
| BCM | — | Continuity | |
| Connector | Terminal | ||
| M80 | 113 | Ground | No |
Is the inspection result normal?
YES>>GO TO 3.
NO>>Repair or replace harness or connectors.
CHECK ACCESSORY RELAY-1 GROUND CIRCUIT
Check continuity between accessory relay-1 harness connector and ground.
| Accessory relay-1 | — | Continuity | |
| Connector | Terminal | ||
| J-3 | 1 | Ground | Yes |
Is the inspection result normal?
YES>>GO TO 4.
NO>>Repair or replace harness or connectors.
CHECK ACCESSORY RELAY-1
Refer to Component Inspection.
Is the inspection result normal?
YES>>Replace BCM. Refer to Removal and Installation.
NO>>Replace accessory relay-1.
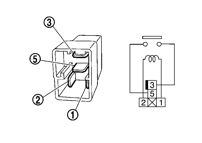
CHECK ACCESSORY RELAY-1
Ignition switch OFF.
Disconnect accessory relay-1 connector.
Check the continuity between accessory relay-1 terminals.

| Accessory relay-1 | Condition | Continuity | |
|---|---|---|---|
| Terminals | |||
| 3 | 5 | 12 V direct current supply between terminals 1 and 2 | Yes |
| No current supply | No | ||
Is the inspection result normal?
YES>>Inspection End.
NO>>Replace accessory relay-1.
B260a Ignition Relay
B261a Push-Btn Ign Sw
The autolight system allows the headlights to turn on and off automatically. The autolight system can:
Turn on the headlights, front parking, tail, license plate and instrument panel lights automatically when it is dark. Turn off all the lights (except daylight running lights) when it is light. Keep all the lights on for a period of time after you place the ignition switch in the OFF position and all doors are closed.