BALANCING WHEELS (ADHESIVE WEIGHT TYPE)
Preparation Before Adjustment
Remove inner and outer balance weights from wheel. Using releasing agent, remove double-faced adhesive tape from wheel and tire.
CAUTION:
Be careful not to scratch wheel and tire during removal.
After removing double-faced adhesive tape, wipe clean all traces of releasing agent from wheel and tire.
Wheel Balance Adjustment
CAUTION:
DO NOT use center hole cone-type clamping machines to hold wheel during tire removal/installation or balancing; damage to wheel paint, cladding or chrome may result. Use only rim-type or universal lug-type clamping machines to hold wheel during servicing.
If a balancer machine has an adhesive weight mode setting, select the adhesive weight mode setting and skip Step 2 below. If a balancer machine only has the clip-on (rim flange) weight mode setting, follow Step 2 to calculate correct size adhesive weight.
Set wheel and tire on balancer machine using center hole as a guide. Start balancer machine.
For balancer machines that only have a clip-on (rim flange) weight mode setting, follow this step to calculate correct size adhesive weight to use. When inner and outer imbalance values are shown on balancer machine indicator, multiply outer imbalance value by 5/3 (1.67) to determine balance weight that should be used. Select outer balance weight with a value closest to calculated value above and install into designated outer position of or at designated angle in relation to the wheel and tire.
Indicated imbalance value × 5/3 (1.67) = balance weight to be installed

Calculation example:
23 g (0.81 oz) × 5/3 (1.67) = 38.33 g (1.35 oz) ⇒ 40 g (1.41 oz) balance weight (closer to calculated balance weight value)
NOTE:
Note that balance weight value must be closer to calculated balance weight value.
Example:
37.4 ⇒ 35 g (1.23 oz)
37.5 ⇒ 40 g (1.41 oz)
Install balance weight in position shown.

CAUTION:
Do not install inner balance weight before installing outer balance weight.
Before installing balance weight, be sure to clean mating surface of wheel and tire.
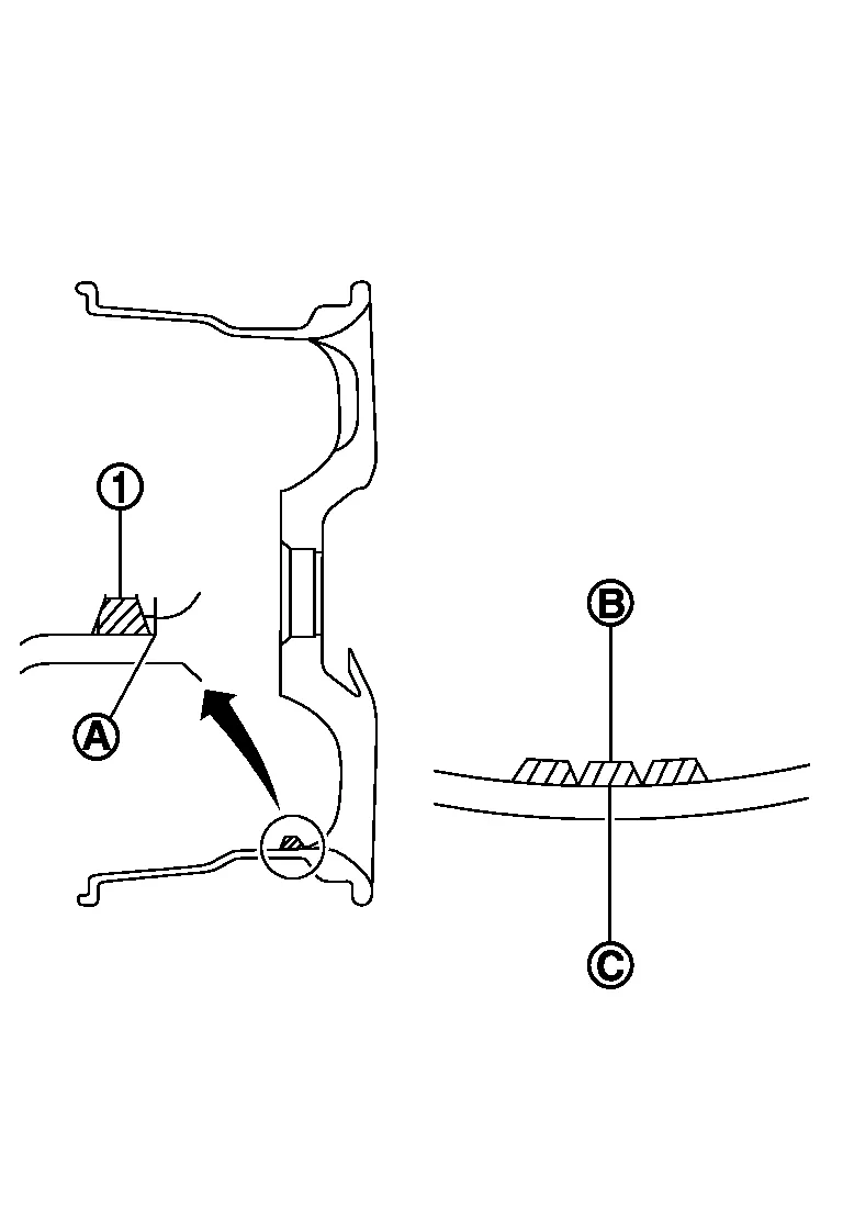
When installing balance weight (1) to wheel and tire, set it into grooved area (A) on inner wall of wheel and tire as shown so that balance weight center (B) is aligned with balancer machine indication position (angle) (C).
CAUTION:
Always use Genuine NISSAN adhesive balance weights.
Balance weights are non-reusable; always replace with new ones.
Do not install more than three sheets of balance weights.
If calculated balance weight value exceeds 50 g (1.76 oz), install two balance weight sheets in line with each other as shown.

CAUTION:
Do not install one balance weight sheet on top of another.
Start balancer machine again.
Install balance weight on inner side of wheel and tire in the balancer machine indication position (angle).
CAUTION:
Do not install more than two balance weights.
Start balancer machine. Make sure that inner and outer residual imbalance values are 5 g (0.17 oz) each or below.
If either residual imbalance value exceeds 5 g (0.17 oz), repeat installation procedures.
| Wheel balance | Dynamic (At flange) | Static (At flange) |
|---|---|---|
| Maximum allowable imbalance | Refer to Wheel. | |
Follow maintenance schedule for tire rotation service intervals. Refer to Introduction of Periodic Maintenance.

Rotate wheels and tires front to back in pattern as shown.
When installing wheel, tighten wheel nuts to specified torque. Refer to Exploded View.
WARNING:
Do not include spare tire when rotating tires.
After rotating tires, check and adjust tire pressure.
CAUTION:
When installing wheel nuts, tighten them diagonally by dividing the work two to three times in order to prevent wheels from developing any distortion.
Be careful not to tighten wheel nuts to a torque exceeding specification to prevent strain on disc brake rotor.
Use Genuine NISSAN wheel nuts.
| Wheel nut tightening torque | : Refer to Exploded View. |
Perform ID registration after tire rotation. Refer to Description.
Wheel
Your vehicle has two types of security systems:
Vehicle security system NISSAN Vehicle Immobilizer SystemThe vehicle security system provides visual and audible alarm signals if someone opens the doors, liftgate or the hood when the system is armed. It is not, however, a motion detection type system that activates when a vehicle is moved or when a vibration occurs.