CONDITION OF INSTALLATION
Check installation condition of steering gear, front suspension, front drive shaft and steering column.
Check if movement exists when steering wheel is moved up and down, to the left and right and to the axial direction.
| Steering wheel axial end play | : Refer to Steering Wheel. | |
Verify that the steering gear nuts are tightened to specification. Refer to Exploded View.
STEERING WHEEL PLAY
Turn tires straight ahead, start engine, then turn steering wheel to the left and right lightly. Measure steering wheel movement on the outer circumference of the steering wheel when it is turned to the point where tires start moving.
| Steering wheel play | : Refer to Steering Wheel. |
NEUTRAL POSITION ON STEERING WHEEL
Check neutral position on steering wheel after confirming that front wheel alignment is correct. Refer to Inspection.
Turn tires straight ahead, check if steering wheel is in the neutral position.
If it is not in the neutral position, remove steering wheel and reinstall it correctly.
If the neutral position cannot be attained by repositioning the steering wheel two teeth or less on steering stem, loosen tie-rod lock nuts of steering gear outer sockets, then adjust tie-rods by the same amount in the opposite direction.
STEERING WHEEL TURNING FORCE
Park vehicle on a level, dry surface and set parking brake.
Start engine.
Bring power steering fluid up to operating temperature.
Verify that the tires are inflated to the specified pressure. Refer to Tire Air Pressure.
Check steering wheel turning force using Tool when steering wheel has been turned 360° from the neutral position.

| Tool number | : — (J-44372) |
| Steering wheel turning force | : Refer to Steering Wheel. |
If steering wheel turning force is out of specification, inspect steering column. Refer to Inspection.
If steering column meets specification, inspect steering gear. Refer to Inspection.
CHECKING FRONT WHEEL TURNING ANGLE
Check front wheel turning angle after toe-in inspection. Place front wheels on turning radius gauges and rear wheels on stands. Check the maximum inner and outer wheel turning angles for LH and RH wheels.

Measure the turning angles with the engine at idle, then turn the steering wheel from full left stop to full right stop and measure the turning angle. Refer to Steering Angle.

| Inner wheel angle (A) | : Refer to Steering Angle. |
| Outer wheel angle (B) | : Refer to Steering Angle. |
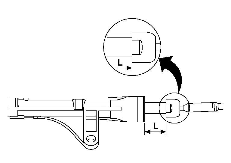
Measure the rack stroke specification with Nissan Murano vehicle in neutral position. Refer to Steering Gear.

| Rack stroke in neutral position (L) | : Refer to Steering Gear. |
Power Steering Fluid
Steering Column
LATCH system lower anchor locations - bench seat
Your vehicle is equipped with special anchor points that are used with LATCH system compatible child restraints. This system may also be referred to as the ISOFIX or ISOFIX compatible system. With this system, you do not have to use a vehicle seat belt to secure the child restraint unless the combined weight of the child and child restraint exceeds 65 lbs. (29.5 kg). If the combined weight of the child and child restraint is greater than 65 lbs. (29.5 kg), use the vehicle’s seat belt (not the lower anchors) to install the child restraint. Be sure to follow the child restraint manufacturer’s instructions for installation.