
| 1. | Cylinder block | 2. | Shim | 3. | Starter |
| 4. | "B" terminal harness | 5. | "S" connector |
NOTE:
When removing components such as hoses, tubes/ lines, etc., cap or plug openings to prevent fluid from spilling.
REMOVAL
Remove the engine room cover. Refer to Removal and Installation.
Remove the battery tray. Refer to Removal and Installation.
Remove the air cleaner case (upper), air cleaner case (lower), and air duct and resonator assembly. Refer to Removal and Installation.
Remove the bolts, then remove the CVT oil charging tube and seal. Refer to Exploded View.
Disconnect the “S” connector, and the “B” terminal harness.
Remove the starter motor bolts, then remove the starter motor.
INSTALLATION
Installation is in the reverse order of removal.
Perform "Throttle Valve Closed Position Learning". Refer to Description.
Perform "Accelerator Pedal Released Position Learning". Refer to Description.
Adjust the neutral position of the steering angle sensor. Refer to Description.
MAGNETIC SWITCH
Remove starter motor from vehicle. Refer to Removal and Installation.
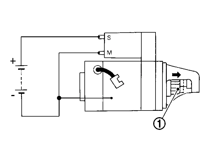
Connect 12V battery to starter motor as shown. Check that pinion gear (1) is driven out by magnetic switch.

Replace starter motor if pinion gear does not driven out.
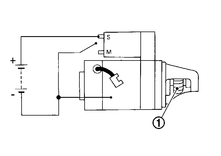
Disconnect "M" terminal as shown. Check that pinion gear (1) does not return to original position.

Replace starter motor if pinion gear returns.
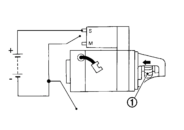
Disconnect (—) wire from starter motor body as shown. Check that pinion gear (1) returns to original position.

Replace starter motor if pinion gear does not return.
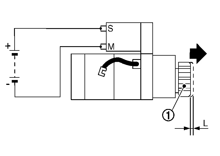
PINION PROTRUSION LENGTH
Compare movement "L" in height of pinion gear (1) when it is pushed out with magnetic switch energized and when it is pulled out by hand until it touches stopper.

| Movement "L" | : Refer to Starter. |
Replace starter motor if the measurement value is not within specifications.
PINION CLUTCH
Check pinion gear teeth.

Replace starter motor if teeth are worn or damaged. (Also check condition of ring gear teeth.)
Check to see if pinion locks in one direction and rotates smoothly in the opposite direction.
Replace starter motor if pinion is locked, rotates in both directions or unusual resistance is evident.
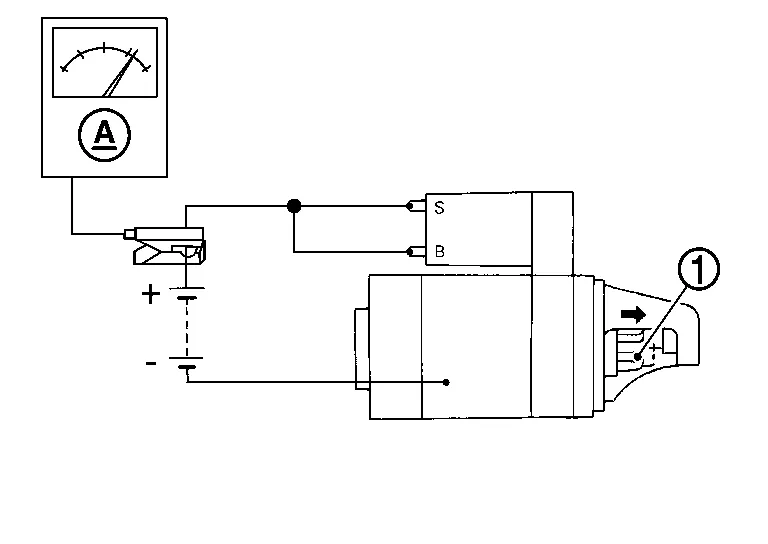
NO-LOAD TEST
Remove starter motor from vehicle. Refer to Removal and Installation.
Connect 12V battery and ammeter to starter motor as shown. Check no load current with pinion gear (1) driven out and starter motor operating.

| No-load current | : Refer to Starter. |
Replace starter motor if the measurement value is not within specifications.
Starting System :: Service Data and Specifications (sds). Starter Motor