WARNING:
Before servicing the SRS, turn the ignition switch OFF, disconnect both battery terminals then wait at least three minutes.
Do not drop the seat belt retractor. Always handle it with care.
Always point pre-tensioner cylinder away from body when handling.
REMOVAL
Remove front seat. Refer to Removal and Installation.
Remove center pillar lower finisher. Refer to Removal and Installation.
Release pawls, using a suitable tool (A) and remove seat belt height adjuster bolt cover.

![]() |
: Pawl |
Remove D-ring anchor bolt.
Disconnect harness connector (A) from seat belt pre-tensioner (1) then remove pre-tensioner bolts (B) and (C).

NOTE:
RH side shown, LH side similar.
CAUTION:
For removing/installing the shoulder belt pre-tensioner harness connector, insert a thin screwdriver wrapped in tape into the notch, then lift the lock and remove the harness connector as shown.

Install the harness connector with the lock raised, and push the lock into the harness connector as shown.
After installing the harness connector, check that the lock is pushed in securely.
Position floor trim aside and remove harness connector cover.
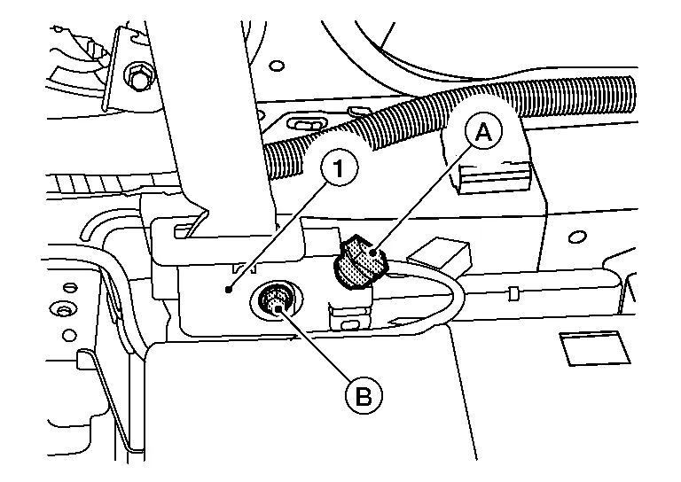
Disconnect harness connector (A) from lap belt pre-tensioner (1) then remove bolt (B) and seat belt retractor.

NOTE:
RH side shown, LH side similar.
CAUTION:
For removing/installing lap belt pre-tensioner harness connector, insert a thin screwdriver wrapped in tape into the notch then lift the lock and remove harness connector as shown.

Install harness connector with the lock raised and push the lock into harness connector as shown.
After installing harness connector, check that the lock is pushed in securely.
INSTALLATION
Installation is in the reverse order of removal.
CAUTION:
Tighten D-ring anchor bolt and seat belt retractor bolts to specification. Refer to Exploded View.
Tighten lap belt pre-tensioner bolts to specification. Refer to Exploded View.
Make sure seat belt height adjuster is locked in lowest position and is aligned with center pillar upper finisher opening during installation.
Make sure both the D-ring anchor and seat belt height adjuster operate freely.
Always perform an inspection after repair to make sure system is functioning within specifications. Refer to Inspection.
Front Seat Belt
Seat Belt Height Adjuster
Your vehicle has two types of security systems:
Vehicle security system NISSAN Vehicle Immobilizer SystemThe vehicle security system provides visual and audible alarm signals if someone opens the doors, liftgate or the hood when the system is armed. It is not, however, a motion detection type system that activates when a vehicle is moved or when a vibration occurs.