
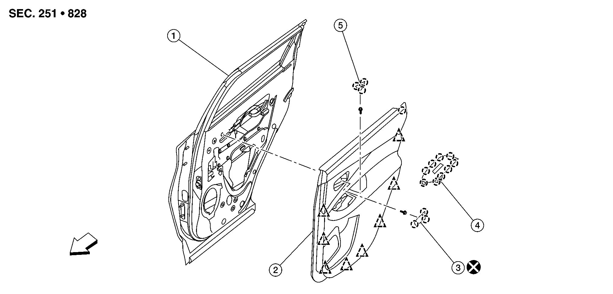
| 1. | Rear door | 2. | Rear door finisher | 3. | Inside door handle escutcheon |
| 4. | Rear power window switch | 5. | Pull handle cap | ![]() |
Clip |
![]() |
Pawl | ![]() |
Front |
REMOVAL
Using a suitable tool release pawls and remove pull handle cap then remove rear door finisher bolt. Refer to Exploded View.
Using a suitable tool release pawls and remove inside door handle escutcheon then remove rear door finisher bolt. Refer to Exploded View.
CAUTION:
Do not reuse inside door handle escutcheon. Replace with new part after removal.
Pull armrest in direction shown (
) then starting at rear release rear power window switch finisher (1) pawls using a suitable tool (A).

: Front
: Pawl
Disconnect the harness connector from the rear power window switch and remove.
Using a suitable tool release rear door finisher clips and pawl. Refer to Exploded View.
Disconnect the door lock cable and inside door handle cable from the rear door finisher.
Remove rear door finisher.
INSTALLATION
Installation is in the reverse order of removal.
CAUTION:
Do not reuse inside door handle escutcheon. Replace with new part for installation.
Visually check clips and pawls for deformation and damage during installation. Replace with new ones if necessary.
When installing rear door finisher, check that clips and pawl are securely placed in body panel holes.
Front Door Finisher
Body Side Trim
Driver’s side
The knee air bag is located in the knee bolster, on the driver’s and passenger’s side. All of the information, cautions and warnings in this manual apply and must be followed. The knee air bag is designed to inflate in higher severity frontal collisions, although it may inflate if the forces in another type of collision are similar to those of a higher severity frontal impact. It may not inflate in certain collisions.

Passenger’s side