|
Tool number (TechMate No.) Tool name | Description | |
|---|---|---|
|
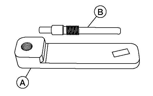
A. — (J-52389) Engine support tool B. — (J-52604) Engine support bracket |
|
Supporting engine |
|
— (J-51307) CVT transmission jack adapter |
|
Removing CVT |
|
|
CVT fluid changing and adjustment |
|
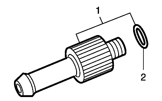
( — ) (J-52584) CVT stand pipe adapter kit |
|
CVT fluid changing and adjustment |
|
KV38107900 (J-52469–1) Differential side oil seal protector |
|
Installing drive shaft A: 32 mm (1.26 in) dia B: Minimum 23 mm (0.91 in) |
|
( — ) (J-43926) Refrigerant dye leak detection kit Kit includes:
|
|
Power supply:
|
|
( — ) (J-52990) |
|
Fluorescent Oil Dye |
|
— (J-51155) CVT8 fluid level quick check gauge |
|
Checking CVT fluid level |
|
(J-52611) CVT charge pipe cap release tool |
|
Removing CVT charge pipe cap |
|
(J-52306) CVT Transmission Range Switch (PNP) A. Pin B. Gauge |
|
Replacing Transmission Range Switch |
|
— (J-51951) Borescope kit |
|
CVT chain inspection |
|
KV315J0400 (J-50271) Gauge block |
|
|
|
KV315J0500 (J-50272) Digital depth gauge |
|
|
|
KV315J0620 (J-51923) J-hook case separator |
|
|
|
KV315J0610 (J-25721-A) Slide hammer |
|
|
|
KV315J0630 (J-50255–UPD) Slide hammer nut and bolt kit |
|
|
|
KV315J0200 (J-51959) CVT assembly guide pins |
|
Installing side cover |
|
KV31500300 (J-52272) Assembly guide pins, pulley bracket |
|
Installing side cover |
|
KV31500800 (J-52283) Output seal installer, case side |
|
Installing differential side oil seal, case side |
|
KV31500900 (J-52284) Output seal installer, torque converter side |
|
Installing differential side oil seal, torque converter side |
|
ST35325000 (J-8092) Universal driver handle |
|
Installing oil seal |
|
KV31500700 (J-50818) Oil pump seal installer |
|
Installing oil pump seal |
|
|
Removing / Installing sub - assembly |
|
— (J-52275) Side cover alignment aid |
|
Adjusting side cover |
|
|
Attaching lift tools |
*: The O-ring as a unit part is set as a SST.
| Tool name | Description | |
|---|---|---|
| Power tool |
|
Loosening nuts, screws and bolts |
| Hydraulic lift table |
|
Removing front suspension member |
| Transmission jack |
|
Removing transaxle assembly |
| Drive shaft joint puller |
|
Removing drive shaft |
| Ball joint remover |
|
Removing steering outer socket |
Precaution. PrecautionsUnfastening the seat belts

To unfasten the seat belt, press the button
on the buckle
. The seat belt
automatically
retracts.