Fuel Level Sensor Unit
| 1. | Fuel level sensor unit | 2. | Fuel tank temperature sensor | A. | Fuel level sensor unit harness connector |
| B. | Fuel pump harness connector | C. | Fuel tank temperature sensor harness connector | D. | Float arm assembly |
Disassembly
NOTE:
Before disassembly, note the proper placement of the wires to the correct terminals and correct wire routing to the terminals.
Disconnect fuel level sensor unit (A) and fuel tank temperature sensor (C) harness connectors. Press the tabs on the terminals to release the locking tabs.

| (B) | : Fuel pump harness connector |
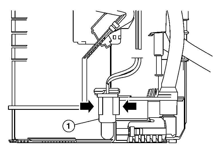
Release two clips and remove fuel tank temperature sensor (1) from pump assembly.

Release tab (A) and slide fuel level sensor unit and float arm assembly up (B) to remove.

Assembly
Assembly is in the reverse order of disassembly.
NOTE:
Ensure proper placement of the wires to the correct terminals and correct wire routing to the terminals.
After connecting terminals, ensure they are securely locked and cannot be pulled out.
When installing the fuel level sensor unit, push down until the tab is locked into place.
Evap Canister Purge Volume Control Solenoid Valve
LATCH system lower anchor locations - bench seat
Your vehicle is equipped with special anchor points that are used with LATCH system compatible child restraints. This system may also be referred to as the ISOFIX or ISOFIX compatible system. With this system, you do not have to use a vehicle seat belt to secure the child restraint unless the combined weight of the child and child restraint exceeds 65 lbs. (29.5 kg). If the combined weight of the child and child restraint is greater than 65 lbs. (29.5 kg), use the vehicle’s seat belt (not the lower anchors) to install the child restraint. Be sure to follow the child restraint manufacturer’s instructions for installation.