WARNING:
Situate the vehicle on a flat and solid surface.
Place chocks at front and back of rear wheels.
CAUTION:
Always work safely.
Do not start work until the engine and exhaust system are cooled completely.
Refer to the applicable sections for warnings, cautions, notes, and instructions if necessary procedures are not included in this section.
NOTE:
When removing components such as hoses, tubes/lines, etc., cap or plug openings to prevent fluid from spilling.
REMOVAL
Remove the air cleaner case (upper), air cleaner case (lower), front air duct, and air duct hose and resonator assembly. Refer to Removal and Installation.
Remove the battery and battery tray assembly. Refer to Removal and Installation.
Remove the engine under cover. Refer to Removal and Installation.
Remove the fender protector side covers (RH/LH). Refer to Exploded View.
Partially remove the fender protectors (RH/LH). Refer to Exploded View.
Remove the radiator assembly. Refer to Removal and Installation.
Remove the engine cooling fan shroud and motor assembly. Refer to Removal and Installation.
Remove the exhaust manifold heat shield (LH). Refer to Exploded View.
Support the engine with a suitable tool.
Disconnect the engine mount insulator (front) vacuum hose.
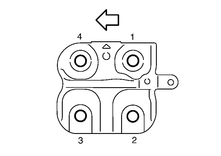
Remove the engine mount insulator (front) nut (A).

Loosen the engine mount bracket (front) bolts in the reverse order shown.

![]() |
: Engine front |
Remove the engine mount bracket (front).
Remove the engine mount insulator (front) bolts in the reverse order as shown.

![]() |
: Front |
Remove the engine mount insulator (front).

INSTALLATION
CAUTION:
Do not damage or spill engine oil on the engine mount insulator (front).
Check engine mount insulator (front) is seated properly before tightening.
Install the engine mount insulator (front).

Install the engine mount insulator (front) bolts and tighten to specification in the order shown.

![]() |
: Front |
| Engine mount insulator (front) bolts | : 55 N·m (5.6 kg-m, 41 ft-lb) |
Install the engine mount bracket (front) to the engine block.
Tighten the engine mount bracket (front) bolts to specification in the order shown.

![]() |
: Engine front |
| Engine mount bracket (front) bolts | : 40 N·m (4.1 kg-m, 30 ft-lb) |
Install the engine mount insulator (front) nut (A) and tighten to specification.

| Engine mount insulator (front) nut | : 103 N·m (11 kg-m, 76 ft-lb) |
Installation of the remaining components is in the reverse order of removal.
Cylinder Head
The autolight system allows the headlights to turn on and off automatically. The autolight system can:
Turn on the headlights, front parking, tail, license plate and instrument panel lights automatically when it is dark. Turn off all the lights (except daylight running lights) when it is light. Keep all the lights on for a period of time after you place the ignition switch in the OFF position and all doors are closed.