
| 1. | Steering wheel | 2. | Cover | 3. | Steering switches |
| 4. | Driver air bag module | A. | Driver air bag module bolt | ![]() |
Pawl |
WARNING:
Before servicing the SRS, place the ignition switch in the OFF position, disconnect both battery terminals then wait at least three minutes.
Always work from the side of air bag module. Do not work in front of it.
Do not use air tools or electric tools for servicing.
REMOVAL
Disconnect negative and positive battery terminals then wait at least three minutes. Refer to Removal and Installation.
Remove the covers (LH/RH).
Remove the driver air bag module bolts (LH/RH).
CAUTION:
Do not reuse the driver air bag module bolts.
Lift the driver air bag module from the steering wheel.
Disconnect the harness connectors from the driver air bag module.

CAUTION:
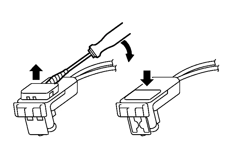
For removing/installing the driver air bag module harness connector, insert a thin screwdriver wrapped in tape into the notch then lift the lock and remove the harness connector as shown.
Install the harness connector with the lock raised, and push the lock into the connector as shown.
After installing the connector, check that the lock is pushed in securely.
Remove the driver air bag module.
CAUTION:
Always place the driver air bag module with pad side facing upward.

![]() |
: Upward |
Replace the driver air bag module if it has been dropped or sustained an impact.
Do not strike the driver air bag module.

Do not insert any foreign objects (screwdriver, etc.) into the driver air bag module.
Do not disassemble the driver air bag module.
Do not expose the driver air bag module to temperatures exceeding 90° C (194°F).
Do not allow oil, grease, detergent or water to come in contact with the driver air bag module.
INSTALLATION
Installation is in the reverse order of removal.
Route the driver air bag module harness through the hook (A) so that the orange connector wire (1) and the yellow connector wire (2) are routed as shown then attach the connectors.

NOTE:
For removal and installation of the direct-connect SRS connectors, refer to SRS Component Connectors.
CAUTION:
Do not reuse the driver air bag module bolts.
If driver air bag module is being replaced due to deployment, the spiral cable must also be replaced. Refer to Removal and Installation.
After installation is complete, check that no system malfunction is detected causing the air bag warning lamp to illuminate.
If a malfunction is indicated by the air bag warning lamp after repair or replacement of the malfunctioning parts, perform the SRS final check. Refer to SRS Final Check.
Spiral CableUnfastening the seat belts

To unfasten the seat belt, press the button
on the buckle
. The seat belt
automatically
retracts.