
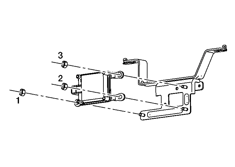
| 1. | Front bumper reinforcement | 2. | Distance sensor | 3. | Distance sensor bracket |
| A. | Refer to Installation. | B. | Refer to Installation . |
REMOVAL
Remove fender protector lower screws. Refer to Exploded View.
Remove front under cover. Refer to Removal and Installation.
Remove lower air guide. Refer to Exploded View.
Remove active grill shutter. Refer to Removal and Installation.
Disconnect the harness connector from the distance sensor.
Remove distance sensor bracket bolts.
Remove bolts and detach distance sensor from distance sensor bracket.
INSTALLATION
Install distance sensor to distance sensor bracket to the specified torque in the sequence shown.
| distance sensor nuts | : 10.0 N·m (1.0 kg-m, 89 in-lb) |

Install distance sensor bracket to front bumper reinforcement to the specified torque in the sequence shown.
| distance sensor bracket bolts | : 10.0 N·m (1.0 kg-m, 89 in-lb) |

Installation of remaining components is in the reverse order of removal.
CAUTION:
Always perform the ADDITIONAL SERVICE WHEN REPLACING DISTANCE SENSOR to check that the ICC system operates normally after replacing the distance sensor or repairing any ICC system malfunction. Refer to Description.
Do not touch distance sensor face.
Do not drop or shock distance sensor.
Make sure distance sensor harness is installed without any twists.
Icc Steering Switch
Your vehicle has two types of security systems:
Vehicle security system NISSAN Vehicle Immobilizer SystemThe vehicle security system provides visual and audible alarm signals if someone opens the doors, liftgate or the hood when the system is armed. It is not, however, a motion detection type system that activates when a vehicle is moved or when a vibration occurs.