
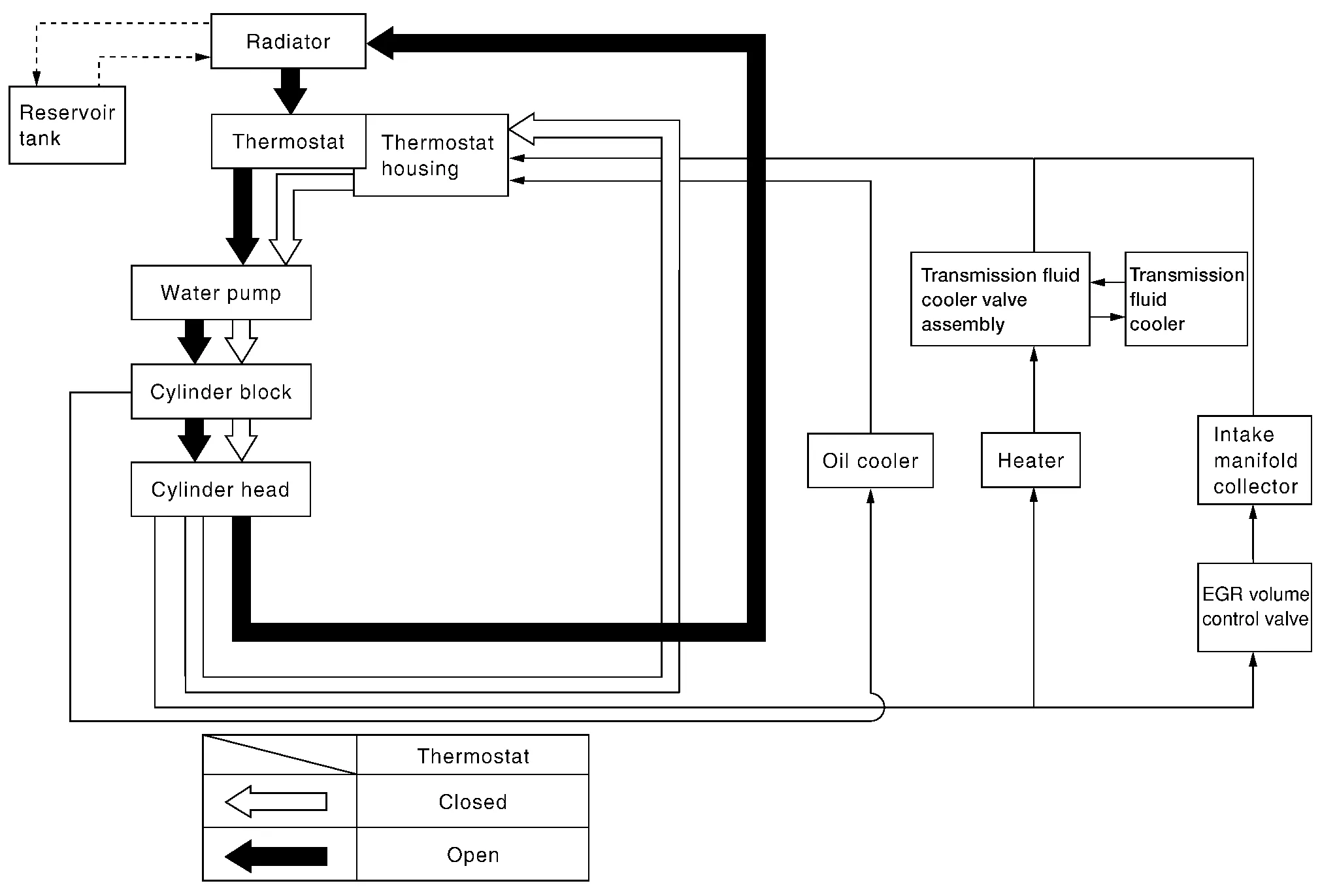
| 1. | Cylinder block (bank 1) | 2. | Oil cooler | 3. | Cylinder head (bank 1) |
| 4. | Water pump | 5. | Radiator | 6. | Water outlet |
| 7. | Thermostat | 8. | Cylinder head (bank 2) | 9. | Cylinder block (bank 2) |
| A. | To heater. Refer to Exploded View. | B. | To electric throttle control. Refer to Exploded View. | C. | From heater. Refer to Exploded View. |
| D. | From electric throttle control. Refer to Exploded View. |

Overheating Cause Analysis
Periodic Maintenance. Engine Coolant
Theremaybe one or two seatback pockets located on the back of the driver and passenger seats. The pockets can be used to store maps.
WARNING