Nissan Murano: Brake System :: Basic Inspection / Brake Pedal
Inspection
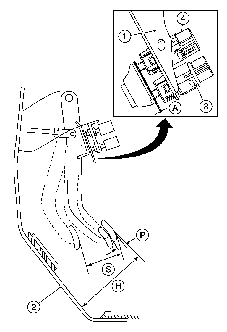
Check the brake pedal height with the floor trim removed.
Check the brake pedal height (H) between the dash lower panel (2) and the brake pedal upper surface.
|

|
|
| Brake pedal height (H) from dash lower panel (2) |
Refer to Brake Pedal. |
| Clearance (A) between brake pedal bracket (1), stop lamp switch (3) and brake pedal position switch (4) contact ends |
Refer to Brake Pedal. |
| Brake pedal full stroke (S) |
Refer to Brake Pedal. |
| Brake pedal play (P) |
Refer to Brake Pedal. |
Inspection
BRAKE FLUID LEVEL
Make sure that the brake fluid level in the sub tank is between the MAX and MIN lines.
Visually check around the sub tank and reservoir tank for brake fluid leakage...
Other information:
DTC Description
DTC DETECTION LOGIC
An excessively low voltage from the APP sensor 2 is sent to ECM.
An excessively high voltage from the APP sensor 2 is sent to ECM.
DTC
CONSULT screen terms
(Trouble diagnosis content)
DTC detection condition
P2127
APP SEN 2/CIRC
(Throttle/Pedal position sensor/switch “E” circuit low)
Diagnosis condition
Start engine and let it idle
Signal (terminal)
Voltage signal transmitted from APP sensor 2 to ECM
Threshold
An excessively low voltage is sent to ECM
Diagnosis delay time
—
P2128
APP SEN 2/CIRC
(Throttle/Pedal position sensor/switch “E” circuit high)
Diagnosis condition
Start engine and let it idle
Signal (terminal)
Voltage signal transmitted from APP sensor 2 to ECM
Threshold
An excessively high voltage is sent to ECM
Diagnosis delay time
—
POSSIBLE CAUSEDTC P2127
Harness or connectors
(APP sensor 2 circuit is open or shorted...
Precaution for Supplemental Restraint System (SRS) "AIR BAG" and "SEAT BELT PRE-TENSIONER"
The Supplemental Restraint System such as “AIR BAG” and “SEAT BELT PRE-TENSIONER”, used along with a front seat belt, helps to reduce the risk or severity of injury to the driver and front passenger for certain types of collisions...