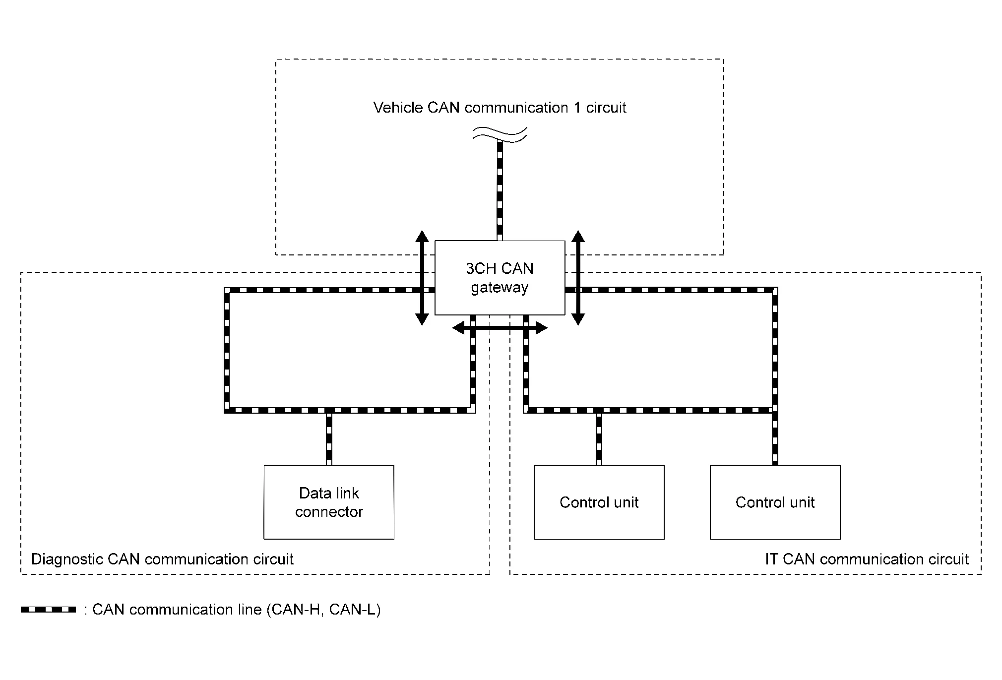
3CH CAN GATEWAY
System Diagram

System Description
The 3CH CAN gateway system communicates between vehicle CAN communication circuit, IT CAN communication circuit and diagnostic CAN communication circuit.
This system selects and transmits only necessary information.
Component Parts. Can Gateway System
Diagnosis System (3ch Can Gate Way)
When securing items using luggage hooks located on the back of the seat or side finisher do not apply a load over more than 6.5 lbs. (29 N) to a single hook.
The luggage hooks that are located on the floor should have loads less than 110 lbs. (490 N) to a single hook.