CAUTION:
Do not rotate sunshade retainer and moonroof unit bases or damage to components may occur.
Do not over tighten screws on the moonroof unit bases or damage may occur.
DISASSEMBLY
Open the sunshade leaving eight inches showing.
Remove panoramic roof glass. Refer to Removal and Installation.
Release sunshade retainer (2) from sunshade retainer couplings (1) (LH/RH).


Remove sunshade (1) by applying pressure toward the drivers side and pulling rearward from the moonroof bases.

Remove moonroof unit base screws (A).
Disassemble by pulling off both moonroof unit bases (LH/RH) from the moonroof unit tracks.
Manually disengage the sunshade motor and moonroof motor assembly using a suitable tool then remove both sunshade cables and glass lid cables by pulling rearward.
Remove the cable guides (LH/RH) by pulling rearward from the moonroof unit tracks.
ASSEMBLY
CAUTION:
Do not remove the sunshade retainer pin or damage may occur.
Insert the sunshade and glass lid cables guides by sliding forward on the moonroof unit track.
Assembly moonroof unit bases (2) (LH/RH) by pushing forward on the moonroof unit tracks (1) (LH/RH).

NOTE:
RH side shown; LH similar.
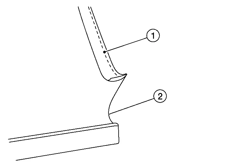
Insert sunshade black hem over lower guide (3) and under upper guide (2) on the moonroof unit bases (1) (LH/RH).

(1) Sunshade black hem.
(2) Sunshade fabric.

Assemble the sunshade by applying pressure towards the drivers and inserting both ends into the moonroof unit bases (LH/RH).
Assemble sunshade retainer.

Manually engage the sunshade motor and moonroof motor assembly using a suitable tool
With the sunshade (2) assembled remove the sunshade spring retainer pin (1).

Install panoramic roof glass. Refer to Removal and Installation.
Install moonroof unit assembly. Refer to Removal and Installation.
Moonroof Switch
Exterior :: Precaution. Precautions
The gauge indicates the approximate fuel level in the tank.
The gauge may move slightly during braking, turning, acceleration, or going up or down hills.
The gauge needle returns to 0 (Empty) after the ignition switch is placed in the OFF position.