|
Tool number (TechMate No.) Tool name | Description | |
|---|---|---|
|
KV40100610 (J-26089) Drift |
|
|
|
ST33052000 ( — ) Adaptor |
|
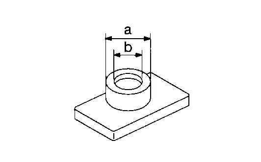
Removing side bearing inner race a: 22 mm (0.87 in) dia. b: 28 mm (1.10 in) dia. |
|
KV40105020 ( — ) Drift |
|
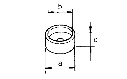
Installing side bearing inner race a: 39.7 mm (1.563 in) dia. b: 35 mm (1.38 in) dia. c: 15 mm (0.59 in) |
|
KV38100200 (J-26233) Drift |
|
Installing side oil seal a: 65 mm (2.56 in) dia. b: 49 mm (1.93 in) dia. |
|
KV38109500 ( — ) Drive pinion socket |
|
|
|
ST3127S000 (J-25765-A) Preload gauge |
|
Measuring pinion bearing preload and total preload |
|
KV381086S1 ( — ) Dummy cover set 1. KV38108610 ( — ) Dummy cover 2. KV38108621 ( — ) Dummy cover spacer 3. KV38108630 ( — ) Dummy cover shim |
|
|
|
KV38109400 ( — ) Pinion nut wrench |
|
Removing and installing drive pinion lock nut |
|
ST33200000 (J-26082) Drift |
|
Installing pinion rear bearing outer race a: 60 mm (2.36 in) dia. b: 44.5 mm (1.752 in) dia. |
|
ST33230000 (J-25805-01) Drift |
|
Installing pinion front bearing outer race a: 51 mm (2.01 in) dia. b: 41 mm (1.61 in) dia. c: 28.5 mm (1.122 in) dia. |
|
ST23860000 ( — ) Drift |
|
|
|
ST38220000 ( — ) Press stand |
|
Installing pinion front bearing inner race a: 75 mm (2.95 in) dia. b: 63 mm (2.48 in) dia. |
|
ST35271000 (J-26091) Drift |
|
Installing drive pinion oil seal a: 72 mm (2.83 in) dia. b: 63 mm (2.48 in) dia. |
| Tool name | Description | |
|---|---|---|
| Oil seal remover |
|
|
| Bearing separator |
|
|
| Puller |
|
|
| Pin punch |
|
Removing and installing lock pin a: 4.5 mm (0.177 in) dia. |
| Power tool |
|
Loosening nuts, screws and bolts |
| Item | Use |
|---|---|
| Red lead or equivalent | Checking tooth contact |
Precaution. Precautions
System Description. Structure and Operation
Your vehicle has two types of security systems:
Vehicle security system NISSAN Vehicle Immobilizer SystemThe vehicle security system provides visual and audible alarm signals if someone opens the doors, liftgate or the hood when the system is armed. It is not, however, a motion detection type system that activates when a vehicle is moved or when a vibration occurs.