
| 1. | Transaxle assembly | 2. | Hose clamp | 3. | CVT fluid cooler hose A |
| 4. | Hose clip | 5. | CVT fluid cooler hose B | 6. | Connector tube |
| 7. | CVT fluid cooler hose C | 8 | Oil warmer | A. | To radiator. Refer to Exploded View. |
REMOVAL
NOTE:
When removing components such as hoses, tubes/lines, etc., cap or plug openings to prevent fluid from spilling.
Drain engine coolant from radiator. Refer to Changing Engine Coolant.
Remove front air duct. Refer to Exploded View.
Remove hose clamps and remove CVT fluid cooler hose A.
Remove hose clamps and remove CVT fluid cooler hose B and CVT fluid cooler hose C.
Remove hose clamps and remove CVT fluid cooler hose B from CVT fluid cooler hose C (if necessary).
Remove CVT fluid cooler tube A and CVT fluid cooler tube B.
INSTALLATION
Installation is in the reverse order of removal.
CAUTION:
Do not reuse hose clamps.
Hose clamps should not interfere with the spool or bulge.
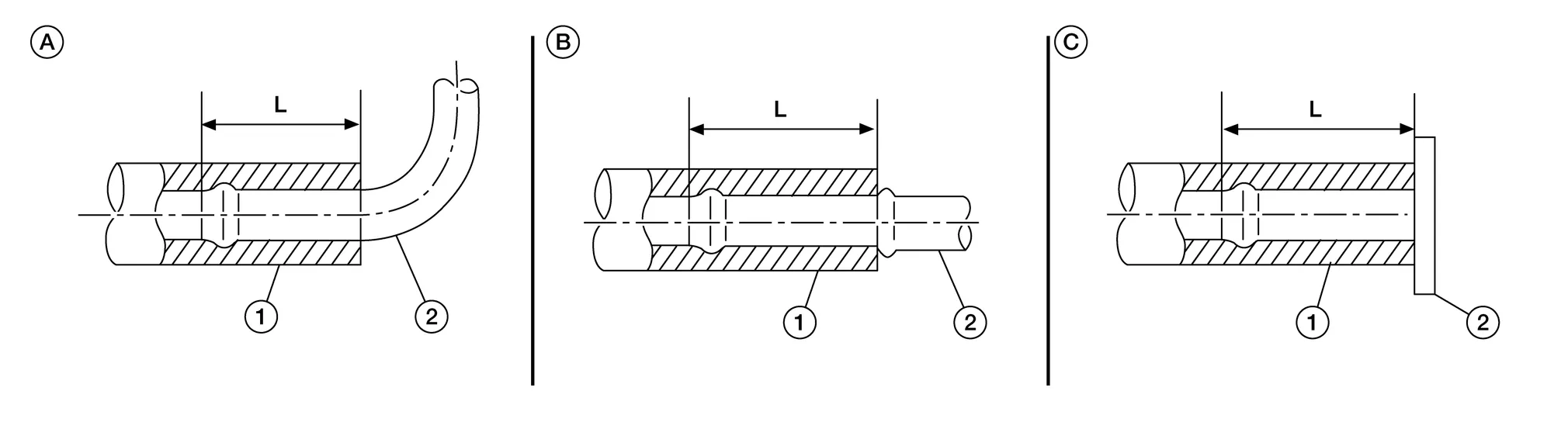
*Refer to the following when installing CVT fluid cooler hoses
| Hose name (1) | Installation side tube (2) | Direction of paint mark | Hose insertion depth (L) |
|---|---|---|---|
| CVT fluid cooler hose A | CVT oil warmer | Downward | B: End reaches the 2-step bulge. |
| Radiator | Downward | A: End reaches the radius curve end. | |
| CVT fluid cooler hose B | Connector tube | Upward | B: End reaches the spool |
| CVT oil warmer | Frontward | A: End reaches the radius curve end. | |
| CVT fluid cooler hose C | Radiator | Upward | C: Insert the hose until hose touches the radiator. |
| Connector tube | Upward | B: End reaches the spool |

*Refer to the following when installing CVT fluid cooler hoses
| Hose name (1) | Installation side tube (2) | Hose clamp (3) | |
|---|---|---|---|
| Direction of tab | Clamping position | ||
| CVT fluid cooler hose A | CVT oil warmer | B | B: Align with the paint mark (C) as shown in the figure. |
| Radiator | B | A: 3 - 7 mm (0.12 - 0.28 in) (L) from hose end | |
| CVT fluid cooler hose B | Connector tube | A | B: Align with the paint mark (C) as shown in the figure. |
| CVT oil warmer | C | A: 3 - 7 mm (0.12 - 0.28 in) (L) from hose end | |
| CVT fluid cooler hose C | Radiator | A | |
| Connector tube | A | ||
*: Refer to the illustrations for the specific position of each hose clamp tab.

The illustrations indicate the view from the hose ends.

When installing hose clamps the center line of each clamp tab should be positioned as shown.
| (A, B) | : Points to top of Nissan Murano vehicle |
| (C) | : Points to front of vehicle |
INSPECTION AFTER INSTALLATION
Check for CVT fluid leakage. Refer to Inspection.
ADJUSTMENT AFTER INSTALLATION
Adjust CVT fluid level. Refer to Adjustment.
Water Hose
Cvt Oil Warmer
When securing items using luggage hooks located on the back of the seat or side finisher do not apply a load over more than 6.5 lbs. (29 N) to a single hook.
The luggage hooks that are located on the floor should have loads less than 110 lbs. (490 N) to a single hook.