Nissan Murano: System / Brake Assist Function
System Description
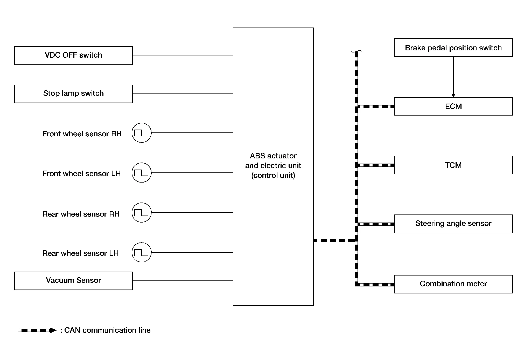
SYSTEM DIAGRAM

-
When the driver brakes hard in an emergency, the stopping distance is reduced by increasing brake fluid pressure.
-
Fail-safe function is adopted. When a malfunction occurs in brake assist function, the control is suspended for VDC function, TCS function, brake assist function and hill start assist function. The Nissan Murano vehicle status becomes the same as models without VDC function, TCS function, brake assist function and hill start assist function. However, ABS function and EBD function are operated normally. Refer to Fail-Safe.
SIGNAL TRANSMISSION FUNCTION LIST
Major signal transmission between each unit via communication lines is shown in the following table:
| Component | Signal description |
| ECM |
Mainly transmits the following signal to ABS actuator and electric unit (control unit) via CAN communication:
Mainly receives the following signal from ABS actuator and electric unit (control unit) via CAN communication:
|
| TCM |
Mainly transmits the following signal to ABS actuator and electric unit (control unit) via CAN communication:
|
| Combination meter |
Mainly receives the following signals from ABS actuator and electric unit (control unit) via CAN communication:
Mainly receives the following signals from ABS actuator and electric unit (control unit) via CAN communication:
|
| Steering angle sensor |
Mainly transmits the following signals to ABS actuator and electric unit (control unit) via CAN communication:
|
System Description
SYSTEM DIAGRAM
By preventing rear wheel slip increase through rear wheel brake force (brake fluid pressure) control that is electronically controlled when slight slip on front and rear wheels is detected during braking, stability during braking is improved...
System Description
SYSTEM DIAGRAM
This function maintains brake fluid pressure so that the vehicle does not move backward even if brake pedal is released to depress accelerator pedal to start the Nissan Murano vehicle while it is stopped on an uphill slope by depressing brake pedal...
Other information:
Values on the Diagnosis Tool
NOTE:
The following table includes information (items) inapplicable to this Nissan Murano vehicle. For information (items) applicable to this vehicle, refer to CONSULT display items.
Monitor item Condition Value/Status
MAIN SW
Ignition switch ON
When MAIN switch is pressed
On
When MAIN switch is not pressed
Off
SET/COAST SW
Ignition switch ON
When SET/COAST switch is pressed
On
When SET/COAST switch is not pressed
Off
CANCEL SW
Ignition switch ON
When CANCEL switch is pressed
On
When CANCEL switch is not pressed
Off
RESUME/ACC SW
Ignition switch ON
When RESUME/ACCELERATE switch is pressed
On
When RESUME/ACCELERATE switch is not pressed
Off
DISTANCE SW
Ignition switch ON
When DISTANCE switch is pressed
On
When DISTANCE switch is not pressed
Off
CRUISE OPE
Drive the Nissan Murano vehicle and activate the vehicle-to-vehicle distance control mode
When ICC system is controlling
On
When ICC system is not controlling
Off
BRAKE SW
Ignition switch ON
When brake pedal is depressed
Off
When brake pedal is not depressed
On
STOP LAMP SW
Ignition switch ON
When brake pedal is depressed
On
When brake pedal is not depressed
Off
IDLE SW
Engine running
Idling
On
Except idling (depress accelerator pedal)
Off
VHCL SPEED SE
While driving
Displays the Nissan Murano vehicle speed calculated by ADAS control unit
ENGINE RPM
Engine running
Equivalent to tachometer reading
THRTL SENSOR
NOTE:
The item is displayed, but it is not used...
Component Function Check
CHECK ABS WARNING LAMP FUNCTION
Check that ABS warning lamp in combination meter turns ON for 1 second after ignition switch ON.
CAUTION:
Never start the engine.
Is the inspection result normal?
YES>>
Inspection End.
NO>>
Proceed to Diagnosis Procedure...