Nissan Murano: Exterior :: Removal and Installation / Back Door Outer Finisher
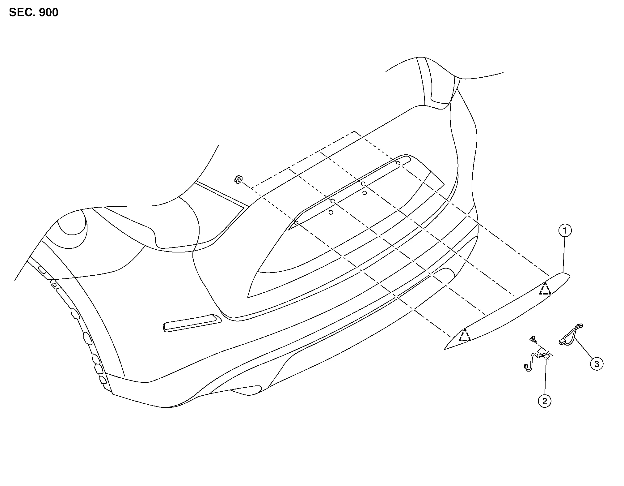
Exploded View

| 1. |
Back door outer finisher |
2. |
Rear view camera |
3. |
Back door request switch |
 |
Clip |
Removal and Installation
REMOVAL
Remove back door lower finisher. Refer to Removal and Installation.
Disconnect the harness connectors from back door request switch and rear view camera.
Remove back door outer finisher nuts.
Release clips and remove the back door outer finisher.
INSTALLATION
Installation is in the reverse order of removal.
CAUTION:
-
When installing back door finisher, check that clips are securely placed into body panel holes.
-
Perform camera image calibration (with intelligent around view monitor). Refer to Description (WITH DISPLAY AUDIO) or Description (WITH NAVIGATION).
Exploded View
1.
Rear spoiler
2.
Side air spoiler
Clip
Removal and Installation
REMOVALRemove luggage side upper finisher. Refer to Removal and Installation...
Exploded View
1.
Emblem A
2.
Emblem B
3.
Emblem L (if equipped)
4.
Emblem C/D/E/F/G/H/J/K (if equipped)
Removal and Installation
REMOVALRemove the emblem from the panel heating with a heat gun...
Other information:
DTC Description
DTC DETECTION LOGIC DTC No.
CONSULT screen items
(Trouble diagnosis content) DTC detection condition
C1A27-97
ECD PWR SUPLY CIR
(ECD power supply circuit)
Diagnosis condition
When engine is running
When MAIN switch of ICC system is ON
Signal (terminal)
—
Threshold
ECD system power supply voltage is excessively low
Diagnosis delay time
60 second or more
POSSIBLE CAUSE
ABS actuator and electric unit (control unit) power supply circuit
ABS actuator and electric unit (control unit)
FAIL-SAFEThe following systems are canceled:
Vehicle-to-vehicle distance control mode
Conventional (fixed speed) cruise control mode
Automatic Emergency Braking (AEB) with pedestrian detection
Automatic Emergency Braking (AEB)
Intelligent Forward Collision Warning (I-FCW)
Rear Automatic Braking (RAB)
Confirmation Procedure
CHECK DTC PRIORITY
If DTC “C1A27–97” is displayed with DTC “U1000–01”, “U0415–82” or “U0121–83”, first diagnose the DTC “U1000–01”, “U0415–82” or “U0121–83”...
WARNING
Listed below are the system limitations
for the AEB system. Failure to operate
the vehicle in accordance with these
system limitations could result in serious
injury or death.
The AEB system cannot detect all vehicles
under all conditions...