SYSTEM DIAGRAM

By preventing wheel lock through brake force (brake fluid pressure) control that is electronically controlled by detecting wheel speed during braking, stability during emergency braking is improved so that obstacles can be easily bypassed by steering operation.
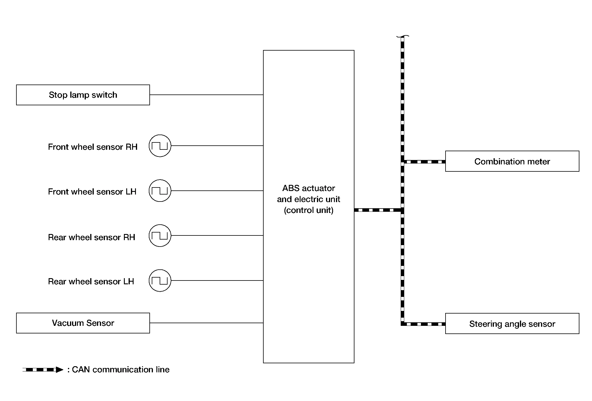
During braking, control units calculate wheel speed and pseudo-Nissan Murano vehicle speed and transmits pressure increase, hold or decrease signals to actuator portion according to wheel slip status.
The following effects are obtained by preventing wheel lock during braking:

Nissan Murano Vehicle tail slip is prevented during braking when driving straight.
Understeer and oversteer tendencies are moderated during braking driving on a corner.
Obstacles may be easily bypassed by steering operation during braking.
CONSULT can be used to diagnose the system diagnosis.
Fail-safe function is adopted. When a malfunction occurs in ABS function, the control is suspended for VDC function, TCS function, ABS function and hill start assist function. The Nissan Murano vehicle status becomes the same as models without VDC function, TCS function, ABS function, brake assist function and hill start assist function. However, EBD function is operated normally. Refer to Fail-Safe.
NOTE:
ABS has the characteristics as described here. This is not a device that helps reckless driving.
To stop Nissan Murano vehicle efficiently, ABS does not operate and ordinary brake operates at low speed [approx. 6.2 MPH (10 km/h) or less, but differs subject to road conditions].
Self-diagnosis is performed immediately after engine starts and when Nissan Murano vehicle initially is driven [by vehicle speed approx. 9 MPH (15 km/h)]. Motor sounds are generated during self-diagnosis. In addition, brake pedal may be feel heavy when depressing brake pedal lightly. These symptoms are not malfunctions.
SIGNAL TRANSMISSION FUNCTION LIST
Major signal transmission between each unit via communication lines is shown in the following table:
| Component | Signal description |
|---|---|
| Combination meter |
Mainly receives the following signals from ABS actuator and electric unit (control unit) via CAN communication:
Mainly receives the following signals from ABS actuator and electric unit (control unit) via CAN communication:
|
| Steering angle sensor |
Mainly transmits the following signals to ABS actuator and electric unit (control unit) via CAN communication:
|
Tcs Function
Ebd Function
Driver’s side
The knee air bag is located in the knee bolster, on the driver’s and passenger’s side. All of the information, cautions and warnings in this manual apply and must be followed. The knee air bag is designed to inflate in higher severity frontal collisions, although it may inflate if the forces in another type of collision are similar to those of a higher severity frontal impact. It may not inflate in certain collisions.

Passenger’s side