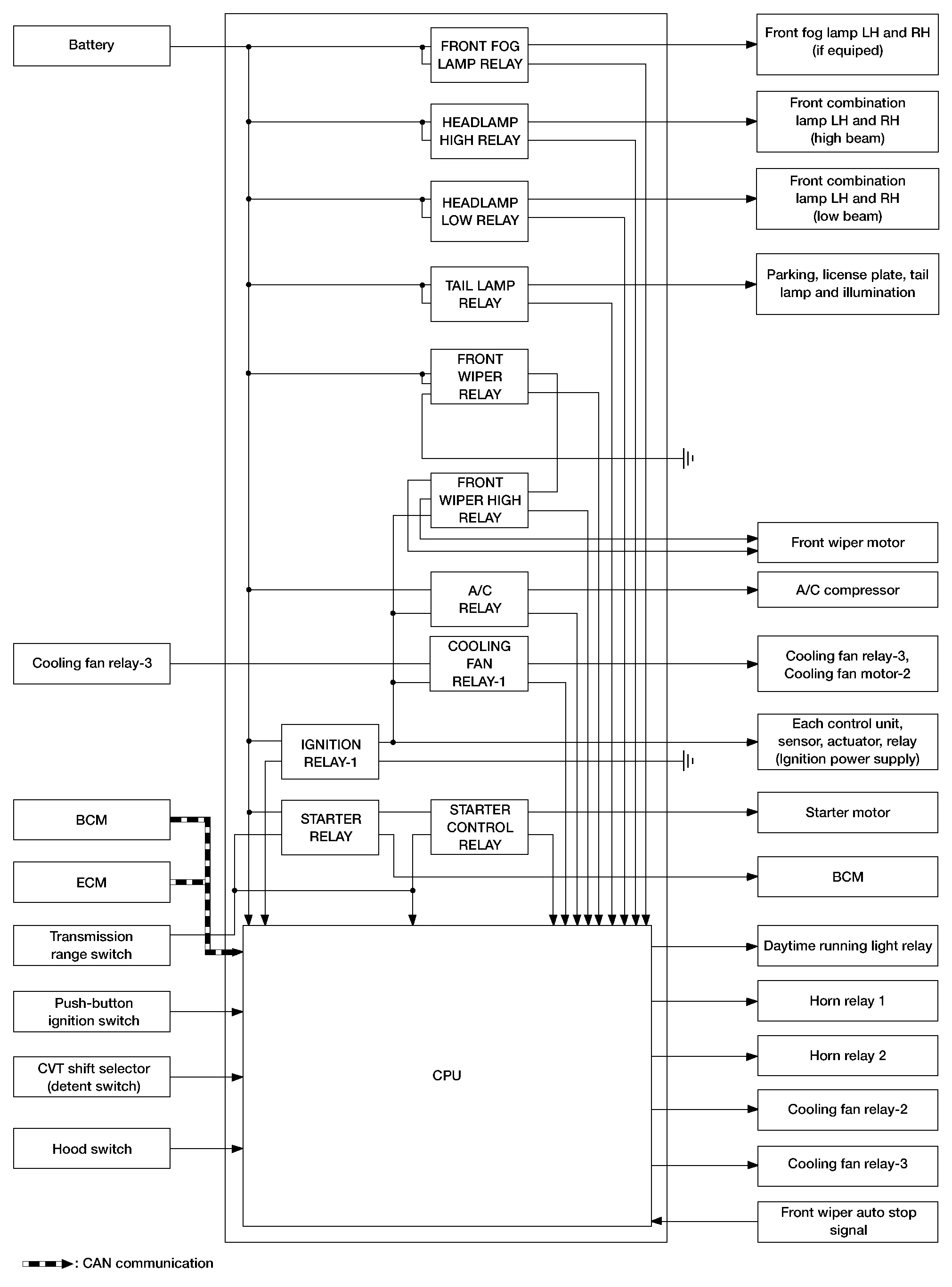
SYSTEM DIAGRAM

System Description
IPDM E/R activates the internal control circuit to perform the relay ON-OFF control according to the input signals from various sensors and the request signals received from control units via CAN communication.
CAUTION:
IPDM E/R integrated relays cannot be removed.
| Control relay | Input/output | Transmit unit | Control part | Reference page |
|---|---|---|---|---|
| Front fog lamp relay | Front fog lamp request signal | BCM (CAN) | Front fog lamp | System Description |
|
|
BCM (CAN) |
|
System Description |
| Tail lamp relay | Position light request signal | BCM (CAN) |
|
System Description |
| Illumination | System Description | |||
|
Front wiper request signal | BCM (CAN) | Front wiper | Diagnosis Procedure |
| Front wiper auto stop signal | Front wiper motor | |||
| Ignition relay-1 | Ignition switch ON signal | BCM (CAN) |
Each control unit, sensor, actuator, relay (Ignition power supply) |
DTC Description |
| Nissan Murano Vehicle speed signal | Combination meter (CAN) | |||
| Push-button ignition switch | Push-button ignition switch | |||
| Cooling fan relay-1 | Cooling fan request signal | ECM | Cooling fan motor | Diagnosis Procedure |
| A/C relay | A/C compressor request signal | ECM (CAN) | A/C compressor | Diagnosis Procedure |
| Starter relay | Starter relay signal | BCM (CAN) | Starter motor | System Description |
| Starter control relay | Starter control relay signal | BCM |
System
Power Consumption Control SystemUnfastening the seat belts

To unfasten the seat belt, press the button
on the buckle
. The seat belt
automatically
retracts.