The Supplemental Restraint System such as “AIR BAG” and “SEAT BELT PRE-TENSIONER”, used along with a front seat belt, helps to reduce the risk or severity of injury to the driver and front passenger for certain types of collisions.
Information necessary to service the system safely is included in the “SRS AIR BAG” and “SEAT BELT” sections of this Service Manual.
WARNING:
Always observe the following items for preventing accidental activation:
To avoid rendering the SRS inoperative, which could increase the risk of personal injury or death in the event of a collision that would result in air bag inflation, it is recommended that all maintenance and repair be performed by an authorized NISSAN/INFINITI dealer.
Improper repair, including incorrect removal and installation of the SRS, can lead to personal injury caused by unintentional activation of the system. For removal of Spiral Cable and Air Bag Module, see “SRS AIR BAG”.
Never use electrical test equipment on any circuit related to the SRS unless instructed to in this Service Manual. SRS wiring harnesses can be identified by yellow and/or orange harnesses or harness connectors.
PRECAUTIONS WHEN USING POWER TOOLS (AIR OR ELECTRIC) AND HAMMERS
WARNING:
Always observe the following items for preventing accidental activation:
When working near the Air Bag Diagnosis Sensor Unit or other Air Bag System sensors with the ignition/power switch ON or engine running, never use air or electric power tools or strike near the sensor(s) with a hammer. Heavy vibration could activate the sensor(s) and deploy the air bag(s), possibly causing serious injury.
When using air or electric power tools or hammers, always switch the ignition/power switch OFF, disconnect the 12V battery or batteries, and wait at least 3 minutes before performing any service.
When performing the procedure after removing cowl top cover, cover the lower end of windshield with urethane, etc. to prevent damage to windshield.

When removing or disassembling each component, be careful not to damage or deform it. If a component may be subject to interference, be sure to protect it with a shop cloth.
When removing (disengaging) components with a screwdriver or similar tool, be sure to wrap the component with a shop cloth or vinyl tape to protect it.
Protect the removed parts with a shop cloth and prevent them from being dropped.
Replace a deformed or damaged clip.
If a part is specified as a non-reusable part, always replace it with a new one.
Be sure to tighten bolts and nuts securely to the specified torque.
After installation is complete, be sure to check that each part works properly.
Follow the steps below to clean components:
Water soluble dirt:
Dip a soft cloth into lukewarm water, wring the water out of the cloth and wipe the dirty area.
Then rub with a soft, dry cloth.
Oily dirt:
Dip a soft cloth into lukewarm water with mild detergent (concentration: within 2 to 3%) and wipe the dirty area.
Then dip a cloth into fresh water, wring the water out of the cloth and wipe the detergent off.
Then rub with a soft, dry cloth.
Do not use organic solvent such as thinner, benzene, alcohol or gasoline.
For genuine leather seats, use a genuine leather seat cleaner.
WARNING:
Clean any dust from the front brake and rear brake using a vacuum dust collector. Do not blow by compressed air.
Brake fluid use refer to Inspection.
Do not reuse drained brake fluid.
Do not spill or splash brake fluid on painted surfaces. Brake fluid may seriously damage paint. Wipe it off immediately and wash with water if it gets on a painted surface.
Always confirm the specified tightening torque when installing the brake pipes.
After pressing the brake pedal more deeply or harder than normal driving, such as air bleeding, check each item of brake pedal. Adjust brake pedal if it is outside the standard value.
Do not use mineral oils such as gasoline or light oil to clean. They may damage rubber parts and cause improper operation.
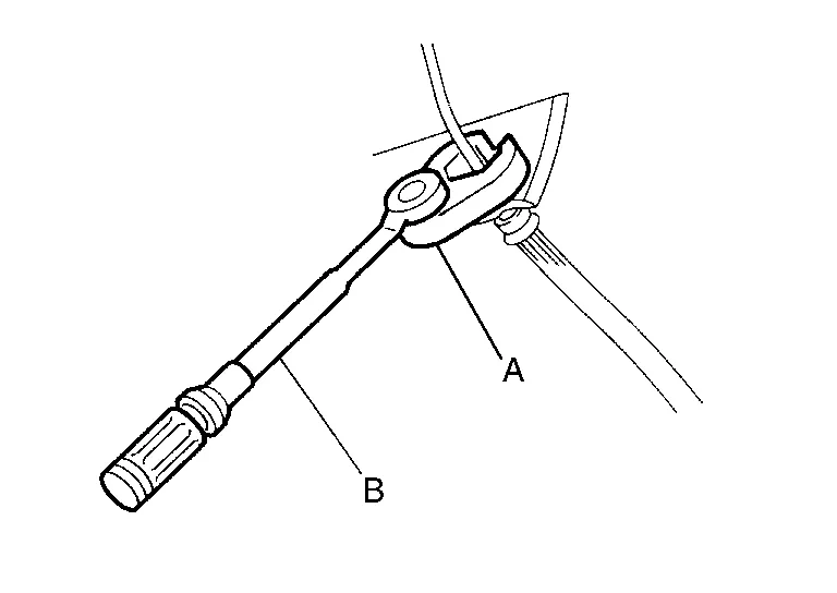
Always loosen the brake tube flare nut with a flare nut wrench.
Tighten the brake tube flare nut to the specified torque using a crowfoot (A) and a torque wrench (B).

Always connect the battery terminal when moving the Nissan Murano vehicle.
Turn the ignition switch OFF and disconnect the ABS actuator and electric unit (control unit) harness connector or the battery negative terminal before performing the work.
Check that no brake fluid leakage is present after replacing the parts.
Just after starting vehicle after ignition switch is ON, brake pedal may vibrate or motor operating noise may be heard from engine compartment. This is a normal condition.
When an error is indicated by ABS or another warning lamp, collect all necessary information from customer (what symptoms are present under what conditions) and check for simple causes before starting diagnostic servicing. Besides electrical system inspection, check brake booster operation, brake fluid level and oil leaks.
If tire size and type are used in an improper combination or brake pads are not Genuine NISSAN parts, stopping distance or steering stability may deteriorate.
ABS might be out of order or malfunctions by putting a radio (wiring inclusive), an antenna and a lead-in wire near the control unit.
If aftermarket parts (car stereo, CD player, etc.) have been installed, check for incidents such as harness pinches, open circuits, and improper wiring.
VDC system may not operate normally or a VDC OFF indicator lamp or SLIP indicator lamp may light.
When replacing the following parts with parts other than genuine parts or making modifications: Suspension-related parts (shock absorber, spring, bushing, etc.), tires, wheels (other than specified sizes), brake-related parts (pad, rotor, caliper, etc.), engine-related parts (muffler, ECM, etc.) and body reinforcement-related parts (roll bar, tower bar, etc.).
When driving with worn or deteriorated suspension, tires and brake-related parts.
Solder the repair part, and wrap it with tape. [Twisted wire fray must be 110 mm (4.33 in) or less.]

Do not bypass the repair point with wire. (If it is bypassed, the turnout point cannot be separated and the twisted wire characteristics are lost.)

CAUTION:
Never use the distance sensor removed from vehicle. Never disassemble or remodel.
Erase DTC when replacing parts of ICC system. Then check the operation of ICC system after radar alignment if necessary.
Never change AEB system state ON/OFF without the consent of the customer.
Turn the AEB system OFF in conditions similar to driving, such as free rollers or a chassis dynamometer.
Preparation. Preparation
Driver’s side
The knee air bag is located in the knee bolster, on the driver’s and passenger’s side. All of the information, cautions and warnings in this manual apply and must be followed. The knee air bag is designed to inflate in higher severity frontal collisions, although it may inflate if the forces in another type of collision are similar to those of a higher severity frontal impact. It may not inflate in certain collisions.

Passenger’s side