
| 1. | Front wiper blade (RH) | 2. | Front wiper arm (RH) | 3. | Front wiper arm cover (RH) |
| 4. | Front wiper arm cover (LH) | 5. | Front wiper arm (LH) | 6. | Front wiper blade (LH) |
REMOVAL
Lift the front wiper arm and blade assembly away from the windshield glass.
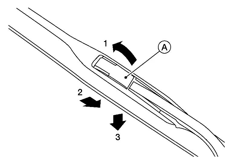
Release tab (A), then move the front wiper blade as shown.

CAUTION:
Be careful not to drop the wiper arm onto the windshield glass.
INSTALLATION
Insert the front wiper blade onto the front wiper arm until it clicks into place.
Lower the front wiper arm and blade assembly onto the windshield glass.
Front Wiper Blade Refill
Theremaybe one or two seatback pockets located on the back of the driver and passenger seats. The pockets can be used to store maps.
WARNING