Nissan Murano: Fuel System :: Removal and Installation / Evap Canister Control Pressure Sensor
Exploded View

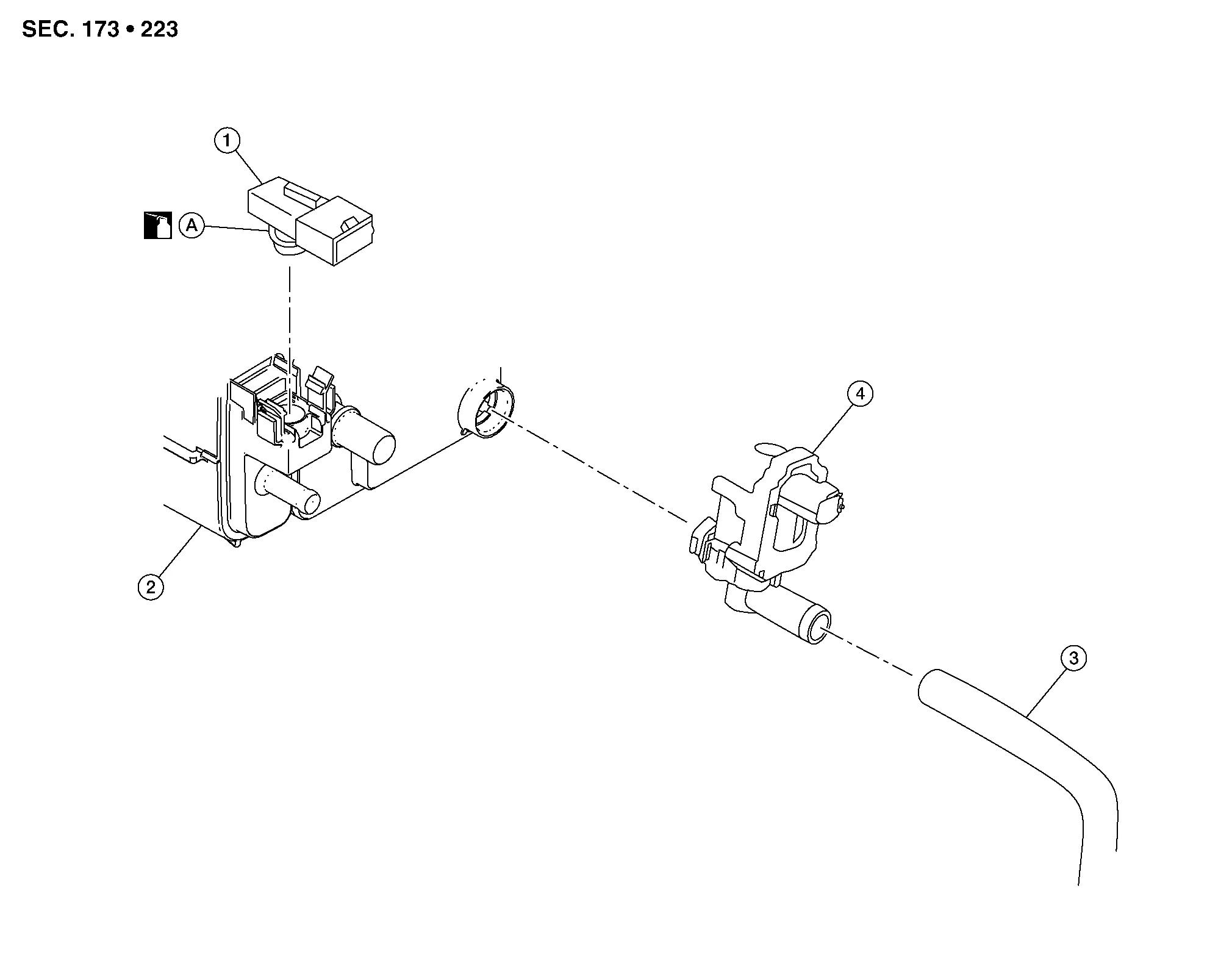
| 1. |
EVAP canister control pressure sensor |
2. |
EVAP canister |
3. |
EVAP canister purge hose |
| 4. |
EVAP canister vent control valve |
A. |
O-ring |
|
|
Removal and Installation
REMOVAL
Remove EVAP canister. Refer to Removal and Installation.
Remove EVAP canister control pressure sensor.
INSTALLATION
Installation is in the reverse order of removal.
CAUTION:
Do not reuse O-ring when installing new EVAP canister control pressure sensor. The EVAP canister control pressure sensor and O-ring are serviced as an assembly.
Exploded View
1.
EVAP canister control pressure sensor
2.
EVAP canister
3.
EVAP canister purge hose
4.
EVAP canister vent control valve
A...
Exploded View
1.
EVAP canister purge volume control solenoid valve
2.
EVAP hose C
3.
Clamp
4.
EVAP hose B
5.
Vacuum delay valve
6...
Other information:
Reference Value
TERMINAL LAYOUTPHYSICAL VALUES
Terminal No.
(Wire color) Description Condition Standard Reference value
+ – Signal name Input/ Output
1
(L)
—
Nissan Murano Vehicle CAN communication-H
Input/ Output
—
—
—
2
(P)
—
Nissan Murano Vehicle CAN communication-L
Input/ Output
—
—
—
3
(L)
—
Diagnostic CAN communication-H
Input/ Output
—
—
—
4
(P)
—
Diagnostic CAN communication-L
Input/ Output
—
—
—
5
(BG)
6
(B)
7
(B)
Ignition power supply
Input
Ignition switch ON
7 – 16 V
Battery voltage
8
(BG)
6
(B)
7
(B)
Battery power supply
Input
Ignition switch OFF
6 – 16 V
Battery voltage
9
(L)
—
IT CAN communication-H
—
—
—
—
10
(P)
—
IT CAN communication-L
—
—
—
—
11
(L)
—
Diagnostic CAN communication-H
Input/ Output
—
—
—
12
(P)
—
Diagnostic CAN communication-L
Input/ Output
—
—
—
13
(L)
—
IT CAN communication-H
—
—
—
—
14
(P)
—
IT CAN communication-L
—
—
—
—
DTC Inspection Priority Chart
If some DTCs are displayed at the same time, perform inspections one by one based on the following priority chart...
WARNING
If a booster seat and seat belt are not
used properly, the risk of a child being
injured or killed in a sudden stop or collision
greatly increases:
Make sure the shoulder portion of
the belt is away from the child’s
face and neck and the lap portion
of the belt does not cross the
stomach...
Categories

Your vehicle has two types of security systems:
Vehicle security system
NISSAN Vehicle Immobilizer System
The vehicle security system provides visual
and audible alarm signals if someone
opens the doors, liftgate or the hood when
the system is armed. It is not, however, a
motion detection type system that activates
when a vehicle is moved or when a
vibration occurs.
read more