Nissan Murano: Removal and Installation / Awd Control Unit
Exploded View

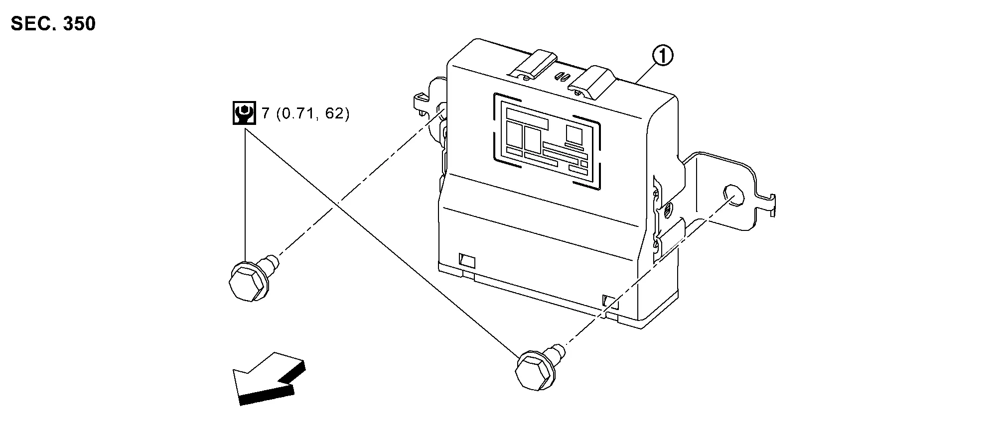
| 1. |
AWD control unit |
 |
Front |
|
|
Removal and Installation
REMOVAL
Remove back door kicking plate. Refer to Removal and Installation - Rear Kicking Plate.
Disconnect harness connector from the AWD control unit (1).

Remove AWD control unit bolts (A).
: Front
Remove AWD control unit (1).
INSTALLATION
Installation is in the reverse order of removal.
CAUTION:
-
Do not drop or shock AWD control unit.
-
When replacing AWD control unit, perform "ADDITIONAL SERVICE WHEN REPLACING AWD CONTROL UNIT". Refer to Description.
Exploded View
1.
Transfer case assembly
2.
Drive shaft oil seal
3.
Transfer cover oil seal
Removal and Installation
REMOVALRemove the front drive shaft (RH)...
Other information:
Diagnosis Procedure
Engine does not start when ignition switch is pressed while carrying Intelligent Key.NOTE:
Before starting diagnosis check that Nissan Murano vehicle condition is as shown in “Conditions of vehicle”, and check each symptom.
The engine start function, door lock function, power distribution system, and NATS-IVIS/NVIS in the Intelligent Key system are closely related to each other regarding control...
Exploded View
1.
Roof rack bolt cover
2.
Roof rack
3.
Roof rack bracket
4.
End cap
Metal clip
Removal and Installation
NOTE:
Begin removal procedure at the front of the Nissan Murano vehicle.
REMOVALRelease roof rack metal clips using a suitable tool...
Categories

Your vehicle has two types of security systems:
Vehicle security system
NISSAN Vehicle Immobilizer System
The vehicle security system provides visual
and audible alarm signals if someone
opens the doors, liftgate or the hood when
the system is armed. It is not, however, a
motion detection type system that activates
when a vehicle is moved or when a
vibration occurs.
read more