COMPONENT PART
Check the front suspension for the following:
Check each component for looseness or play.
Inspect each component for abnormal wear or damage.
Ball Joint Axial End Play
WARNING:
When moving the front tires up and down by hand, place a jack (A) at the rear floor jack lift point to stabilize the Nissan Murano vehicle or the vehicle could rock and fall off the lift resulting in serious personal injury or death.

Set front wheels in a straight-ahead position.
Check ball joint boot for cracks or other damage. If there are cracks or other damage replace transverse link.
Move axle side of transverse link up and down by hand. Check there is no end play.

CAUTION:
Do not depress brake pedal when measuring.
Do not perform with tires on level ground.
Be careful not to damage ball joint boot. Do not apply excessive force.
INSPECTION
Check the conditions (looseness, backlash) of each component. Verify that component conditions (wear, damage) are normal.
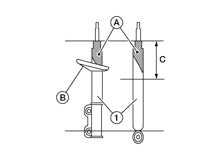
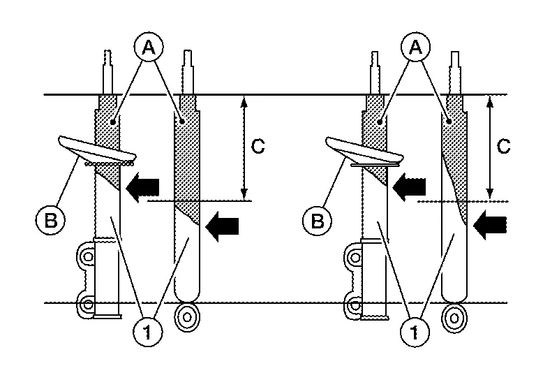
Oil Leakage Inspection
If oil (A) does not extend beyond the spring seat (B) or upper half (C) of strut/shock absorber (1), this is slight oil seepage and the strut/shock absorber should not be replaced.

If oil (A) does extend beyond the spring seat (B) or upper half (C) of strut/shock absorber (1) as shown, perform the following.

– Use a finger to touch the oil that has extended beyond the spring seat or upper half of strut/shock absorber.
– If the oil layer is thick and contains large pieces of dust and debris, replace the strut/shock absorber.
– If the oil is thin and does not contain large pieces of dust and debris, do not replace the strut/shock/ absorber.
NOTE:
If strut/shock absorber leakage is diagnosed in one strut/shock absorber, do not automatically replace both sides. Replace only the leaking strut/shock absorber.
STRUT/SHOCK ABSORBER ROD INSPECTION
Compress and extend the strut/shock absorber rod more than four times by hand. If abnormal resistance or sound is discovered, replace the strut/shock absorber.
TRANSVERSE LINK
Transverse link for deformation, cracks or damage.
Bushing for complete separation. (If completely separated, inner metal can be pulled out from transverse link.)
Bushing for leakage.
Ball joint boot for cracks or other damage, and also for grease leakage.
FRONT STABILIZER
Check the front stabilizer and clamps for any deformation, cracks or damage and replace if necessary.
Check the rubber bushings for deterioration or cracks and replace if necessary.
STEERING KNUCKLE
Check the steering knuckle for any deformation, cracks, or other damage and replace if necessary.
Wheel Alignment
Theremaybe one or two seatback pockets located on the back of the driver and passenger seats. The pockets can be used to store maps.
WARNING