Nissan Murano: Steering / Steering System :: Service Data and Specifications (sds). Service Data and Specifications (sds)
Steering Wheel
| Steering wheel axial end play |
0 mm (0 in) |
| Steering wheel play |
0 - 35 mm (0 - 1.38 in) |
| Steering wheel turning force |
39 N (4 kg-f, 9 lb-f) or less |
Steering Angle
Unit: Degree minute (Decimal degree)
|

|
|
| Inner wheel angle (A) |
Minimum |
34° 30′ (34.50°) |
| Nominal |
37° 30′ (37.50°) |
| Maximum |
38° 30′ (38.50°) |
| Outer wheel angle (B) |
Nominal |
32° 30′ (32.50°) |
Steering Column
STEERING COLUMN LENGTH
Unit: mm (in)
|

|
|
| Steering column length |
Length (L) |
467 (18.4) |
| Telescopic maximum |
487 (19.2) |
| Telescopic minimum |
447 (17.2) |
STEERING COLUMN ROTATING TORQUE
Unit: N·m (kg-m, in-lb)
| Rotating torque |
0.67 (0.07, 6) |
TILT MECHANISM OPERATING RANGE
Unit: mm (in)
|

|
|
| Tilt operating range (L1) |
50 (2.0) |
| Telescopic operating range (L2) |
40 (1.6) |
Steering Gear
STEERING OUTER SOCKET AND INNER SOCKET
| Outer socket |
Swinging torque |
0.3 - 2.9 N·m (0.03 - 0.30 kg-m, 3 - 26 in-lb) |
| Rotating torque |
0.3 - 2.9 N·m (0.03 - 0.30 kg-m, 3 - 26 in-lb) |
| Axial end play |
0.5 mm (0.020 in) or less |
| Inner socket |
Swinging torque |
0.1 - 7.8 N·m (0.01 - 0.80 kg-m, 1 - 69 in-lb) |
| Axial end play |
0.2 mm (0.008 in) or less |
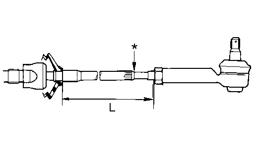
| Inner socket length (L) |
112.7 ± 1 mm (4.44 ± 0.04 in) |
| |

|
|
RACK STROKE
Unit: mm (in)
|

|
|
| Rack stroke in neutral position (L) |
72 (2.83) |
RACK SLIDING FORCE
Unit: N-f (kg-f, lb-f)
| Rack sliding force |
290 - 370 (29.6 - 37.7, 65.2 - 83.2) |
Power Steering Oil Pump
Unit: kPa (kg/cm², psi)
| Relief oil pressure |
9,700 -10,300 (98.94 - 105.06, 1,406.5 - 1,493.5) |
Power Steering Fluid
| Fluid type |
E-PSF |
| Fluid capacity |
1.0 (1-1/8 US qt, 7/8 Imp qt) |
Precaution for Supplemental Restraint System (SRS) "AIR BAG" and "SEAT BELT PRE-TENSIONER"
The Supplemental Restraint System such as “AIR BAG” and “SEAT BELT PRE-TENSIONER”, used along with a front seat belt, helps to reduce the risk or severity of injury to the driver and front passenger for certain types of collisions...
Other information:
CONSULT Function (BCM - SIGNAL BUFFER)
ECU IDENTIFICATIONThe BCM part number is displayed.SELF DIAGNOSTIC RESULTRefer to DTC Index.DATA MONITOR Monitor Item [Unit] Description
PUSH SW [On/Off]
Indicates condition of the push-button ignition switch...
DTC Description
DTC DETECTION LOGIC
ECM detects that the voltage of power source for throttle control motor is excessively low.
ECM detects that the throttle control motor relay is stuck ON.
DTC
CONSULT screen terms
(Trouble diagnosis content)
DTC detection condition
P2100
ETC MOT PWR-B1
(Throttle actuator “A” control motor circuit/open)
Diagnosis condition
Start engine and let it idle
Signal (terminal)
Throttle control motor circuit
Threshold
ECM detects that the voltage of power source for throttle control motor is excessively low
Diagnosis delay time
—
P2103
ETC MOT PWR-B1
(Throttle actuator “A” control motor circuit high)
Diagnosis condition
Ignition switch ON
Signal (terminal)
Throttle control motor circuit
Threshold
ECM detects that the throttle control motor relay is stuck ON
Diagnosis delay time
—
POSSIBLE CAUSEDTC P2100
Harness or connectors
(Throttle control motor relay circuit is open)
Throttle control motor relay
DTC P2103
Harness or connectors
(Throttle control motor relay circuit is shorted)
Throttle control motor relay
FAIL-SAFE Engine operating condition in fail-safe mode
Fail safe mode Nissan Murano Vehicle behavior
Throttle control motor relay
ECM stops the electric throttle control actuator control, throttle valve is maintained at a fixed opening (approx...